Явно не съм гледал достатъчно за което се извинявам!
Dushan написа:naydenov69 написа:Здравейте колеги.Търся схемата на буксата на ключа на фаровете на Пасат мисля ,че е Б3/91 година/.Днес се занимавах с един такъв, но не ми стигна времето да разгадая буксата.Открих кой пин е на постоянен +, кой е на + след контакт,кой е за ляв и десен габарит и за късите.Моля,ако някой знае кой пин за какво е да ми каже.Благодаря предварително.
Няма нужда от хвърляне на боб, а от един 12V фазомер. Като въртиш копчето разбираш на коя позиция, на кой кабел пуска + и си готов.

porko написа:Една тарга бира от мен,ако извадиш един такъв фазомер за 12 волта изправено и стабилизирано напрежение.Или от акумулатор.Пробна лампа,мултицет и каквото и да е друго,ама фазомер...Не случайно се казва така.Индицира фазата при променливото.

изключват при включване на габарити.



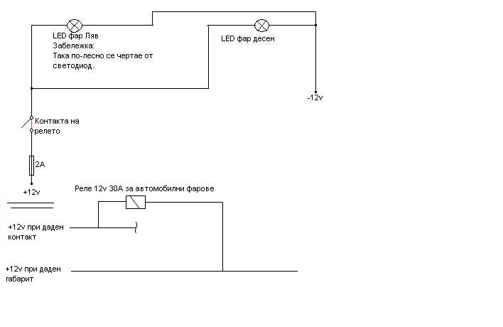
минуса на габарита, докато не е подаден + на него- това е единственото което малко ме обърква
i.e.i написа:минуса на габарита, докато не е подаден + на него- това е единственото което малко ме обърква
Това е ,ако светят само късите/дългите без габарити.
Потребители, разглеждащи този форум: Няма регистрирани потребители и 63 госта