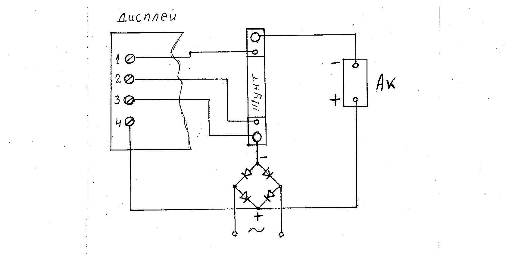
клема 5 нещо не ми се връзва(да не стане заварка
Идеята на този уред е да вградя в самоделно зарядно и да го ползвам като информация с какво напрежение и ток се зарежда акумулатор
ако ползвам долната схема с размемнени power и load ще мери ли вярно и дали не е опасно от изгаряне на уреда
