МК3 1.4 ABD - регулиране на скоростен лост

Техническа и сервизна информация за Golf, Vento, Jetta и Bora
aleksandurg
Мнения: 135
Регистриран на: Чет 18 апр 2013 19:42
Автомобил: Golf 3
Двигател: ABD 1994
Местоположение: Ruse

МК3 1.4 ABD - регулиране на скоростен лост

Мнениеот aleksandurg » Нед 05 юли 2015 21:44


Здравейте, темата на тазседмичният ремонт по голфа беше - ремонт на скоростният лост. Скоростите не влизаха гладно както си трябва някой път с усилие и чувство като търкане на метал в метал. Попрочетох разни теми и реших да сменя тази втулка, кръглия тампон и ябълката:
явеяв.jpg
явеяв.jpg (5.88 KиБ) Видяна 700 пъти
images.jpg
images.jpg (2.54 KиБ) Видяна 699 пъти
EP1332.jpg


Разкачих генерацията, махнах алуминиевите кори, разкачих лоста откъм скоростната кутия ( от малкото болче 10-ка) и извадих всичко от купето. Белязах шлиците уж, смених каквото смених и върнах всичко по местата. Скоростите влизат отново зле, пак го има усещането като метал в метал и влизат със зор. Явно иска реглаж та се разрових и намерих тази тема http://vwts.ru/forum/index.php?showtopic=127413 изработих детайла от твърд картон и следващия уикенд ще се пробвам, но имам въпрос по самият процес.

Такъв ли е реда на нещата?
Изключвам на свободна, развивам болта (кой болт този при шлиците или малкия болт номер 10) поставям детайла както е показано в руския форум ( което фиксира лоста между 3/4 скорост) стягам болта и пробвам как са скоростите ако нещо продължава да не ми харесва, включвам 1-ва скорост, развивам болт "B" от снимката по-долу и въртя детайла "A" ( не знам как му е името) докато разстоянието "a" стане в диапазона 0.5-1.5мм?

127413_07.jpg
127413_07.jpg (24.92 KиБ) Видяна 700 пъти


Такъв ли е процеса, някой правил ли го е и има ли някакви тънкости ?
Благодаря предварително на отзовалите се! :beer

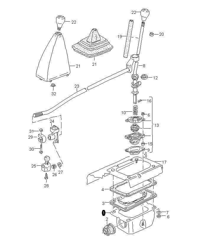
EDIT: Това е схемата на моята лостова система:
c7da3c5d4bc07e3c6a690e0d9dbf94c2_718x831.jpg


Сега като се замисля този реглаж може да се осъществи ако пружините които държат лоста в средно положение например при свободна са здрави. Предполагам, че схемата тогава е следната: Развива се болт номер 30, в купето фиксирам лоста между 3/4 скорост стягам болт 30 и всичко е ток и жица. В моя случай обаче тези пружини са в самата кутия и явно не работят защото лоста си ходи покойно навсякъде и съм го побългарил с един ластик в самата кутия в купето ( по мъдрата тема на един друг колега от форума). Има ли някакъв друг вариант за реглаж или ще трябва да го правя на принципа "проба-грешка" докато се получи?




Върни се в “Golf, Vento, Jetta & Bora”

Кой е на линия

Потребители, разглеждащи този форум: Няма регистрирани потребители и 66 госта