бора 1.9 тди Втулки на скоростен лост
-
victorveselinov
- Мнения: 34
- Регистриран на: Вто 27 юни 2017 13:48
- Автомобил: Vw Bora
- Двигател: AHF 2000
бора 1.9 тди Втулки на скоростен лост
Здравейте! На бора 1.9 тди, знаете ли кои са номерата на частите - втулките по скоростния лост. В dieselgeek го има този комплект - с 6 втулки пластмасови. Гледам че тук се продава в дбк димитров подобен, пасващ на голф 3 и сходните му. Ще стане ли на мк4? Или ако не комплект, евентуално да кажете една по една втулките ще съм много благодарен! Опитвам се да оправя луфта в лоста. Напред назад се движи с около 3 см.
- Ивайло Димов
- предупреждение за БАН
- Мнения: 1519
- Регистриран на: Пон 31 май 2021 19:02
- Автомобил: Seat Toledo
- Двигател: 1800 -20V -AGN -1999
- Местоположение: Шумен
Re: Втулки на скоростен лост
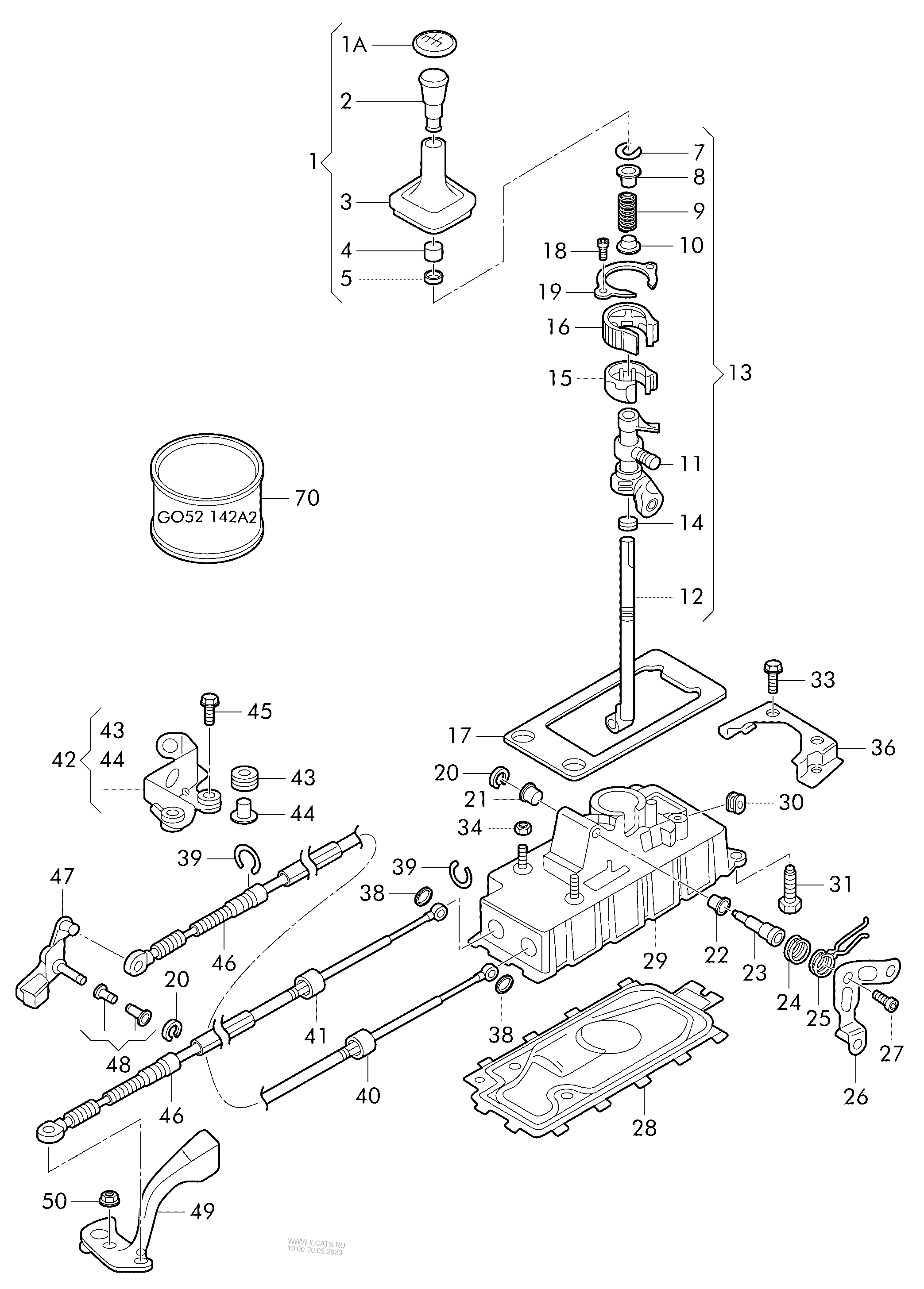
Посочи ми кои номера втулки ти трябват и ще ти кажа ОЕ номерата им
-
victorveselinov
- Мнения: 34
- Регистриран на: Вто 27 юни 2017 13:48
- Автомобил: Vw Bora
- Двигател: AHF 2000
Re: Втулки на скоростен лост
8, 10, 11, 14, 21, 22, 38
Ще съм ти много благодарен!
Ще съм ти много благодарен!
- Ивайло Димов
- предупреждение за БАН
- Мнения: 1519
- Регистриран на: Пон 31 май 2021 19:02
- Автомобил: Seat Toledo
- Двигател: 1800 -20V -AGN -1999
- Местоположение: Шумен
Re: Втулки на скоростен лост
Номер 8 - 1J0711217
Номер 10 - 1J0711067N
Номер 11- 1J0 711 112 E...тази част върви с целия лост ,трудно ще я намериш само нея .По-скоро от морга
Номер 14 -357711901A
Номер 21 - 1J0711067K
Номер 22 - 1K0711067/1J0711067Q -тук са два вида ,според това какво извадиш от твоя механизъм ,съвсем леко се различават
Номер 38 -N90833001
Номер 10 - 1J0711067N
Номер 11- 1J0 711 112 E...тази част върви с целия лост ,трудно ще я намериш само нея .По-скоро от морга
Номер 14 -357711901A
Номер 21 - 1J0711067K
Номер 22 - 1K0711067/1J0711067Q -тук са два вида ,според това какво извадиш от твоя механизъм ,съвсем леко се различават
Номер 38 -N90833001
-
victorveselinov
- Мнения: 34
- Регистриран на: Вто 27 юни 2017 13:48
- Автомобил: Vw Bora
- Двигател: AHF 2000
Re: Втулки на скоростен лост
На номер 11 би трябвало да влиза част номер 26. Тоест кати гледаш схемата от дясната страна на номер 27 трябва да има още една втулка. Зтова съм посочил 11, мислех, че е там. Както и да е, много ти благодаря наистина!!!
Прикачвам снимка на мястото, където трябва да има втулка
Прикачвам снимка на мястото, където трябва да има втулка
-
victorveselinov
- Мнения: 34
- Регистриран на: Вто 27 юни 2017 13:48
- Автомобил: Vw Bora
- Двигател: AHF 2000
Re: Втулки на скоростен лост
Извинявам се, колега. Разбрах, че моята лостова сисгема е 02а от стария модел. И намерих само този пълен комплект, обаче от Амазон.https://www.amazon.com/TX-Racing-Complete-Bushing-Replacemet/dp/B09WCK9SR4/ref=pd_aw_ci_mcx_mh_mcx_views_0?pd_rd_w=RrymM&content-id=amzn1.sym.07081e2a-c82a-4414-ba67-d1ea4791ec44&pf_rd_p=07081e2a-c82a-4414-ba67-d1ea4791ec44&pf_rd_r=A5ENMDERFTNA174WXVGV&pd_rd_wg=XkAyX&pd_rd_r=01c01290-2105-479c-b4e8-d1f4e1318513&pd_rd_i=B09WCK9SR4
Дали има и за тук подобен?
Дали има и за тук подобен?
- Ивайло Димов
- предупреждение за БАН
- Мнения: 1519
- Регистриран на: Пон 31 май 2021 19:02
- Автомобил: Seat Toledo
- Двигател: 1800 -20V -AGN -1999
- Местоположение: Шумен
Re: Втулки на скоростен лост
Има два модела ,дал съм ти номера за коли до 2000 година ,но и след 2000 няма фрапантни разлики .Написал си че колата ти е 2000 година ,предполагам десетия знак от рамата ти е буквата Y.
-
victorveselinov
- Мнения: 34
- Регистриран на: Вто 27 юни 2017 13:48
- Автомобил: Vw Bora
- Двигател: AHF 2000
Re: бора 1.9 тди Втулки на скоростен лост
Не. X е знака. Аз намерих схемата и поръчвах втулките една по една. Комплект не намерих. Благодаря ти!
- Ивайло Димов
- предупреждение за БАН
- Мнения: 1519
- Регистриран на: Пон 31 май 2021 19:02
- Автомобил: Seat Toledo
- Двигател: 1800 -20V -AGN -1999
- Местоположение: Шумен
Re: бора 1.9 тди Втулки на скоростен лост
X значи 1999 схемата е същата като за 2000,успех в ремонта 
-
victorveselinov
- Мнения: 34
- Регистриран на: Вто 27 юни 2017 13:48
- Автомобил: Vw Bora
- Двигател: AHF 2000
Re: бора 1.9 тди Втулки на скоростен лост
Благодаря отново!
Re: бора 1.9 тди Втулки на скоростен лост
Ако все още не се е оправил луфта, препоръчвам ти да смениш и тази гривна около ябълката, номер 15 и 16 от схемата, продават се като една цяла част 1K0711699 . Има отношение за луфта напред-назад, наляво-надясно.
Снимката от първия пост твоя ли е или от нета? На нея пръстена, който търсиш върху металната планка 27 е афтърмаркет изпълнение, за да се сложи на планката се отстранява тампончето от част номер 11. Предлага се от Dieselgeek , още няколко сайта от щатите и разбира се али-то. Фабрично не е така и тампона от част 11 не се предлага отделно от цялата част.
Снимката от първия пост твоя ли е или от нета? На нея пръстена, който търсиш върху металната планка 27 е афтърмаркет изпълнение, за да се сложи на планката се отстранява тампончето от част номер 11. Предлага се от Dieselgeek , още няколко сайта от щатите и разбира се али-то. Фабрично не е така и тампона от част 11 не се предлага отделно от цялата част.
Върни се в “Golf, Vento, Jetta & Bora”
Кой е на линия
Потребители, разглеждащи този форум: Няма регистрирани потребители и 97 госта