Golf 4 - Скъсана биалетка повторно?
-
yordanzhelev
- Мнения: 7
- Регистриран на: Вто 23 сеп 2014 19:55
- Автомобил:
- Двигател:
Golf 4 - Скъсана биалетка повторно?
Колеги, помагайте, голфа къса втора биалетка. Като го качвам пред нас има един момент, в който предна лява и задна дясна са на по-високо, и предна дясна гума остава не натоварена. В този момент предна дясна биалетка се къса. Ухото отдолу просто се къса на две и биалетката се откача. Карам го от четири години, преди две седмици се скъса така биалетката, вчера я сменихме с друга и днес се скъса пак. Пак същата, от същата страна, при идентични обстоятелства. Колата няма никакви признаци по окачването да има проблем, гледа я майстор, никъде няма луфтове. При каране няма проблем, няма вибрации, не дърпа воалана. Всичко останало изглежда е ОК.
- muns61
- Мнения: 7965
- Регистриран на: Чет 01 юли 2010 8:45
- Автомобил:
- Двигател:
- Местоположение: pleven
Re: Golf 4 - Скъсана биалетка повторно?
Въпросът ти какъв е, или просто искаш да ни информираш?
-
yordanzhelev
- Мнения: 7
- Регистриран на: Вто 23 сеп 2014 19:55
- Автомобил:
- Двигател:
Re: Golf 4 - Скъсана биалетка повторно?
Въпросът е това нормално ли е да се случва и дали просто биалетките са слабо място или да търся друг проблем?
- goppa
- VW експерт

- Мнения: 8033
- Регистриран на: Вто 04 сеп 2012 19:25
- Автомобил: Seat Alhambra
- Двигател: CFFB
- Местоположение: Горна Оряховица
Re: Golf 4 - Скъсана биалетка повторно?
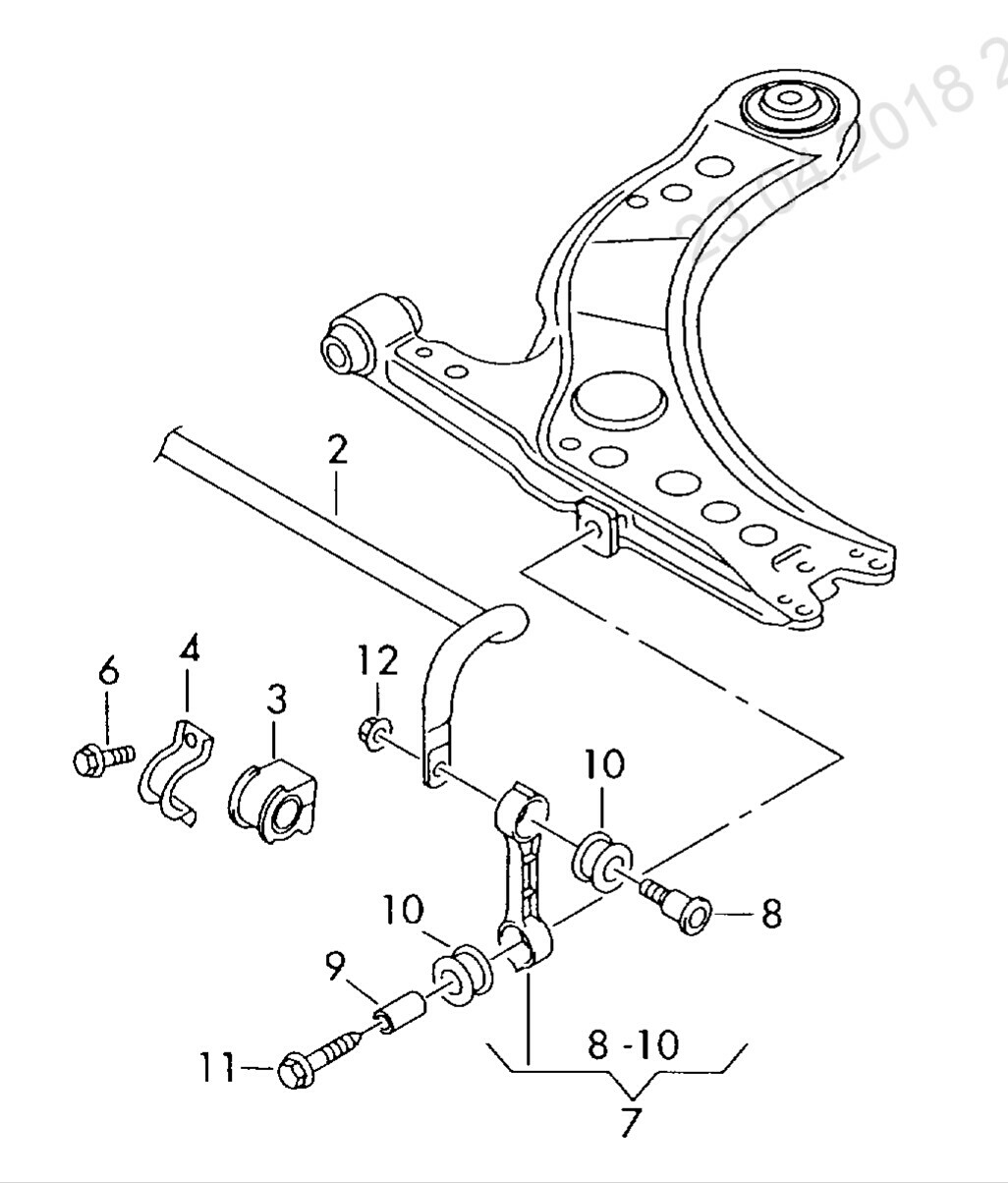
Търси защо се късат!
С този вид щанга и биелетки ли си?
Гледам, че има различни видове за тая биелетка



Да не би да са ти монтирани неподходящ вид биелетки?
С този вид щанга и биелетки ли си?
Гледам, че има различни видове за тая биелетка



Да не би да са ти монтирани неподходящ вид биелетки?
- kris11
- VW експерт

- Мнения: 13575
- Регистриран на: Нед 06 фев 2005 23:04
- Автомобил: VW Sharan 7M8
- Двигател: ADY_DBU_LPG LANDIRENZO OMEGAS
- Местоположение: Варна
- Контакти:
Re: Golf 4 - Скъсана биалетка повторно?
крепежа на биалетката стяган ли е при стъпил на гумите си автомобил?
Върни се в “Golf, Vento, Jetta & Bora”
Кой е на линия
Потребители, разглеждащи този форум: Няма регистрирани потребители и 115 госта