Значи аз точно с тази тръбичка се борих доста-докато успея да я освободя от захвата на тапата-прерязах я с секачки.
Две неща не ми станаха ясни-
Защо тая моята тръбичка дето уж е за акуто не отиваше при него ами някъде към купето ? Така ине я разбрах къде отива-мисля че беше пусната под сервото да си стой и аз я оставих там. Акуто ми няма такива технологични приводи за отдаване на излишна киселина при презаряд.
Защо казваш че са два ? Аз видях само този под сервото с тази прозрачно/бяла тръбичка и я махнах. В резултат - когато има мъгли и висока влажност- наблюдавам две симетрични петна под колата от оттичащата се вода от конденза.
Значи отпред имаше по спомени нещо като гумена тапа. Но тя няма никакъв отвор и незнам дали е предвидена за оттичане на водата. Аз не съм я пипал нея изобщо. Махнан симетричната на тази под акуто, която пак беше с този запушващият се профилен отвор.
Passat B5 и B5.5 - подобрения и обща информация за модела
- Комшията
- Мнения: 441
- Регистриран на: Сря 09 яну 2013 14:01
- Автомобил: Passat B5.5
- Двигател:
- Местоположение: Haskovo
Re: Пасат B5 и B5.5-тунинг,подобрения,ремонти
Гумената тръбичка от акулуматора е прикрепена направо към гуменото уплатнение направо са сляти едно цяло.Първоначално се усъмних но както се вика бутни пръста и разбрах накъде води


- Apokaliptiko
- Мнения: 1945
- Регистриран на: Съб 06 дек 2008 19:21
- Автомобил: Passat B5
- Двигател: 1998 AFN
- Местоположение: гр. Русе
Re: Пасат B5 и B5.5-тунинг,подобрения,ремонти
Дон Кихот какво стана с фланците?
- Комшията
- Мнения: 441
- Регистриран на: Сря 09 яну 2013 14:01
- Автомобил: Passat B5.5
- Двигател:
- Местоположение: Haskovo
Re: Пасат B5 и B5.5-тунинг,подобрения,ремонти
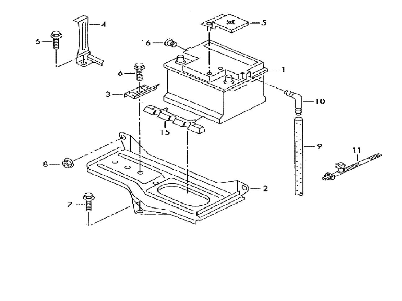
Колеги откъде мога да намеря такива схеми за цялата кола?
- Прикачени файлове
-
- image.jpg (17.76 KиБ) Видяна 956 пъти
- Комшията
- Мнения: 441
- Регистриран на: Сря 09 яну 2013 14:01
- Автомобил: Passat B5.5
- Двигател:
- Местоположение: Haskovo
Re: Пасат B5 и B5.5-тунинг,подобрения,ремонти
Слагате ли зимни стелки през зимата на Пасата може ли да възникне проблем със текстилните?
- pEsHkyY
- Мнения: 729
- Регистриран на: Вто 06 сеп 2011 14:06
- Автомобил: VW Passat B5 1998
- Двигател: AFN++++
- Местоположение: София
Re: Пасат B5 и B5.5-тунинг,подобрения,ремонти
Аз не слагам. Пърпоркам си с летните стелки.
-
phantom_
- Мнения: 2205
- Регистриран на: Нед 25 сеп 2011 11:53
- Автомобил: VW passat+BMW X3+Honda St1300
- Двигател: avf+m47
- Местоположение: shabla
Re: Пасат B5 и B5.5-тунинг,подобрения,ремонти
Може би гумени/силиконови с борд.И aз не слaгaм, много мизерно изглеждaт според мен ,мaлко кaто се нaмокрят 

- Комшията
- Мнения: 441
- Регистриран на: Сря 09 яну 2013 14:01
- Автомобил: Passat B5.5
- Двигател:
- Местоположение: Haskovo
Re: Пасат B5 и B5.5-тунинг,подобрения,ремонти
Точно така гумени сигурно и затова са гумени,аз също не слагам сигурно не сме патили затова ама то един път се случва нали знаете след това се научаваме.
- Apokaliptiko
- Мнения: 1945
- Регистриран на: Съб 06 дек 2008 19:21
- Автомобил: Passat B5
- Двигател: 1998 AFN
- Местоположение: гр. Русе
Re: Пасат B5 и B5.5-тунинг,подобрения,ремонти
Аз ползвам тия за зимата, казват че са оригинал. Предпочитам тия. Мокетените са в мазата, за зимата не разчитам на тях.




- Комшията
- Мнения: 441
- Регистриран на: Сря 09 яну 2013 14:01
- Автомобил: Passat B5.5
- Двигател:
- Местоположение: Haskovo
Re: Пасат B5 и B5.5-тунинг,подобрения,ремонти
Apokaliptiko написа:Аз ползвам тия за зимата, казват че са оригинал. Предпочитам тия. Мокетените са в мазата, за зимата не разчитам на тях.
Тези закопчават ли се или ги слагаш направо ей така както са.
Re: Пасат B5 и B5.5-тунинг,подобрения,ремонти
Apokaliptiko написа:Дон Кихот какво стана с фланците?
майстора ми , е взел сериозна поръчка е цеха си и ще са по натам. :)
Re: Пасат B5 и B5.5-тунинг,подобрения,ремонти
снощи поразтрихме малко машините на зимно каране. За първа зима карам 5.5 в зимни условия и ми допадна много като поведение и реакция на ESP системата, обаче не ми хареса, че електронния блокаж на деференциала е постоянно включен, дори и при изсключено ESP.
Кой е на линия
Потребители, разглеждащи този форум: Няма регистрирани потребители и 45 госта