passat b5 Смяна на горен тампон на преден амортисьор
passat b5 Смяна на горен тампон на преден амортисьор
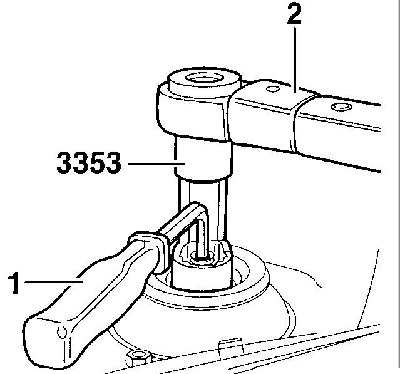
Кой намер е гайката и шестограма за контра? Имам скоби друго по специално нещо ще ми трябва ли ?
- MAKAROW
- Мнения: 247
- Регистриран на: Пон 04 сеп 2006 22:11
- Автомобил:
- Двигател:
- Местоположение: София,Пловдив,В.Търново
Re: passat b5 Смяна на горен тампон на преден амортисьор
има един прибор дет му викат -шублер
Re: passat b5 Смяна на горен тампон на преден амортисьор
То е скрито под калника трябва предварително да знам за да спеста разходки за ключове по време на разглобяване
Re: passat b5 Смяна на горен тампон на преден амортисьор
Колега MAKAROW не си много остроумен и предлагам ако имаш какво с какво да помогнеш на хората го прави , не пускай само плоски и злостни коментари!


- niks76
- VW експерт

- Мнения: 5312
- Регистриран на: Нед 25 юни 2006 19:05
- Автомобил:
- Двигател:
- Местоположение: Париж
Re: passat b5 Смяна на горен тампон на преден амортисьор
гаиката на амортисъора е 18или 19мм;на разли4ните марки е разли4на гаиката а шестограма е 7мм
Кой е на линия
Потребители, разглеждащи този форум: Google [Bot] и 32 госта