Пасат В5 1.8 125 к.с. ADR въпрос за един маркуч
-
- Мнения: 1
- Регистриран на: Пон 14 окт 2013 9:03
- Автомобил: Passat
- Двигател: ADR 98
- Местоположение: София
Пасат В5 1.8 125 к.с. ADR въпрос за един маркуч
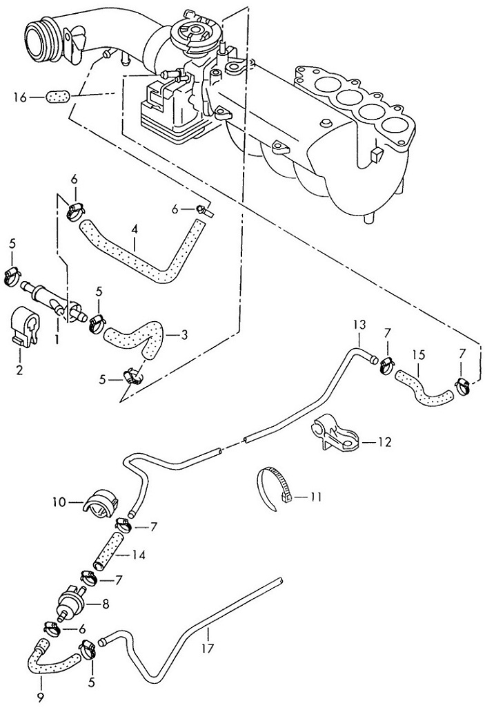
Здравейте,колеги.Може би не е тук мястото за питането ми, за което се извинявам но след дълго ровене и запитване по магазини не можах да получа отговор на въпроса ми.Двигател ADR 125 коня, 98 г. Има един маркуч за вакуум които излиза от смукателните тръби и завършва с един пластмасов клапан, този клапан е един вид като тройник.По дебелия край отива за сервото, а другият с по-малкия диаметър КЪДЕ ОТИВА, моят е скъсан и не мога да проследя веригата.Моля помагай те.Благодаря ви предварително.Имам и снимка но не знам да я кача.
- pas1.8mi
- Мнения: 5208
- Регистриран на: Нед 10 окт 2004 14:08
- Автомобил: Passat B5
- Двигател: 1.8T AEB 1999
- Местоположение: София,Плевен
Re: Пасат В5 1.8 125 к.с. ADR въпрос за един маркуч
Качи снимката някъде,и дай линк към нея! 

- KBK
- Мнения: 427
- Регистриран на: Пет 14 сеп 2012 16:43
- Автомобил: VW PASSAT b5.5
- Двигател: 2.0i AZM
- Местоположение: Blagoevgrad / Sofia
Re: Пасат В5 1.8 125 к.с. ADR въпрос за един маркуч
Колега предполагам, че говориш за маркуч 3 и 4.
Кой е на линия
Потребители, разглеждащи този форум: Няма регистрирани потребители и 60 госта