Скоби за хидравлични маркучи

Техническа и сервизна информация за Passat
Потребителски аватар
Пешо2004
Мнения: 161
Регистриран на: Нед 14 дек 2008 10:15
Автомобил: VW Passat Variant 5.5
Двигател: AVF 2004
Местоположение: София

Скоби за хидравлични маркучи

Мнениеот Пешо2004 » Нед 30 дек 2018 17:10


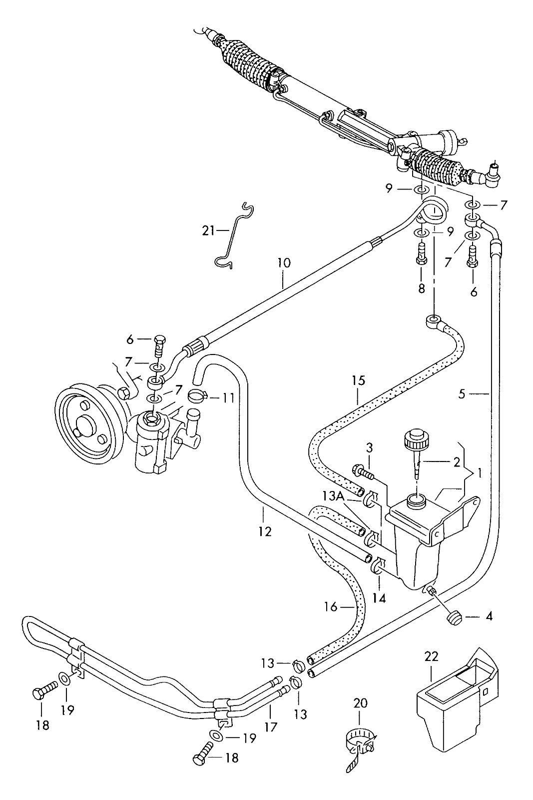
Здравейте. Търся скоби за хидравлични маркучи (номер 13 от схемата). Откъде мога да купя оригинални. В момента там са обикновени за водни съединения. В петък изтече малко масло. Притегнах скобата днес, но не знам дали пак няма да протече. Благодаря предварително.[img]https://uploads.tapatalk-cdn.com/20181230/cf03765d948ec84a41b36dbd54d35812.jpg[/img]

Изпратено от моят Lenovo P1a42 с помощта на Tapatalk




Потребителски аватар
silent
Мнения: 2618
Регистриран на: Вто 15 юни 2004 22:41
Автомобил:
Двигател:
Местоположение: София

Re: Скоби за хидравлични маркучи

Мнениеот silent » Пон 31 дек 2018 10:23


това са запресоващи се неразглобяеми скоби за които ти трябват съответните клещи или керпеден с умения....с нищо не са по добри или по здрави от качествени скоби за водни съсединия...ако тече проблема не е в скобите а в маркуча или щуцера....


Потребителски аватар
Пешо2004
Мнения: 161
Регистриран на: Нед 14 дек 2008 10:15
Автомобил: VW Passat Variant 5.5
Двигател: AVF 2004
Местоположение: София

Re: Скоби за хидравлични маркучи

Мнениеот Пешо2004 » Пон 31 дек 2018 14:06


Клещи имам точно за скоби за карета. Не съм сигурен че тези скоби са по лоши от тези за вода. Даже напротив. Проблем с маркуча и щуцера няма. Просто скобата се беше разхлабили малко с времето. Бутах куче на магистрала, тръбата пластмасовата( играеща охладител) беше смачкана при удара. Майсторите я смениха със здрава втора ръка.Явно не са имали такива скоби. Това става преди 2 години и 8 месеца. Оттогава досега нищо. Затова си мисля че проблема е в скобата. Кажете къде да търся такива запресоващи се скоби, или качествени за вода. Благодаря още веднъж.


Потребителски аватар
Iezekil
Мнения: 6185
Регистриран на: Вто 14 фев 2012 15:53
Автомобил: Passat B4 Variant
Двигател: ABS 94
Местоположение: Шумен

Re: Скоби за хидравлични маркучи

Мнениеот Iezekil » Пон 31 дек 2018 14:54


Ако има някде човек с такава машина за карбовка,то със сигурност авто климатичните майстори го знаят къдее е.


Потребителски аватар
KBK
Мнения: 427
Регистриран на: Пет 14 сеп 2012 16:43
Автомобил: VW PASSAT b5.5
Двигател: 2.0i AZM
Местоположение: Blagoevgrad / Sofia

Re: Скоби за хидравлични маркучи

Мнениеот KBK » Пон 31 дек 2018 15:26


Двамата говорите за различни скоби и маркучи. Става въпрос за скобите на ниското налягане на хидравликята, я не за тези с вивоко налягане. (Както е казал колегата позиция 13). Преди време и аз имах проблем с теч на масло от там, с обикновени скоби със винт не става, след време започва да пропускат. Тогава сложих скоби за водни съединения, но от тези самонатягащите се и оттогава няма проблем. Бая време търсих и намерих в autokelley, имят всякакви размери, тези мисля че бяха 12-16мм
Прикачени файлове
218422500.png
IMG_20181231_152506.jpg
IMG_20181231_152506.jpg (4.21 KиБ) Видяна 1071 пъти


Потребителски аватар
Пешо2004
Мнения: 161
Регистриран на: Нед 14 дек 2008 10:15
Автомобил: VW Passat Variant 5.5
Двигател: AVF 2004
Местоположение: София

Re: Скоби за хидравлични маркучи

Мнениеот Пешо2004 » Вто 01 яну 2019 13:48


Мерси колега. Точно за ниското налягане, от и към охладителя. По схемата ги дават скобите 17.5мм. Значи трябва да търся 16-18мм или 16-20мм. Благодаря още веднъж. Ще търся първо такива запресоващи се( никъде не намирам такива малки). Има за карета, маншони и други по големи. Като не намеря, ще търся такива самостоягащи се за вода. Приключваме я тази тема.



Върни се в “Passat”

Кой е на линия

Потребители, разглеждащи този форум: Bing [Bot], Google [Bot] и 30 госта