климатроник Б4 - Тази част ???

Техническа и сервизна информация за Passat
Потребителски аватар
kofata
Мнения: 216
Регистриран на: Пон 26 май 2008 18:40
Автомобил:
Двигател:
Местоположение: София

климатроник Б4 - Тази част ???

Мнениеот kofata » Пон 02 фев 2009 17:46


Изображение
Изображение
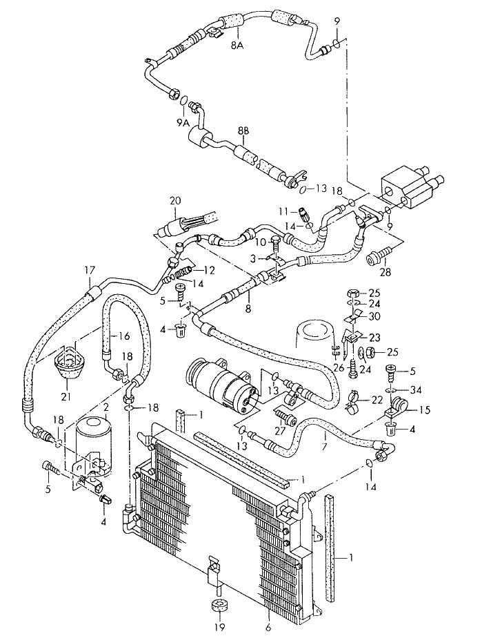
Колеги, става въпрос за тази част, за какво служи и как се казва?
Ще сменям дехидратора с нов; трябва да промия системата; питам се може ли и това животно да го промия (с кореселин се промиваше май)или да го сменям? Гледах цени на него и :shock не останах много очарован за това питам.
"Ползвах търсачката" но не открих нищо.




Потребителски аватар
Namesata
Мнения: 728
Регистриран на: Пон 14 яну 2008 17:31
Автомобил: VW PASSAT USA
Двигател: KR 16V 9A
Местоположение: София

Re: климатроник Б4 - Тази част ???

Мнениеот Namesata » Пон 02 фев 2009 18:11


интересно ми е как ще промиеш системата :roll: .Сложи корселин и мислим да ходиш да кпуваш нова инсталация.Филтр се сменява само с нов.по добре не промиваи нищо ако има някъде запушване ще да е от капилярна тръбичка , ТРВ или филтър дехидратор.


Потребителски аватар
kofata
Мнения: 216
Регистриран на: Пон 26 май 2008 18:40
Автомобил:
Двигател:
Местоположение: София

Re: климатроник Б4 - Тази част ???

Мнениеот kofata » Пон 02 фев 2009 18:19


колега, въпросът ми е за тази част как се казва, а колкото филтър-дехидратора да поръчал съм нов, но незнам "тази" част за какво служи и как се казва. Колкото до кореселина един майстор на климатици ми каза, ти с какжо предлагаш да промивам? Какво е това ТРВ и каде се намира тази капилярна тръбичка?


Потребителски аватар
Namesata
Мнения: 728
Регистриран на: Пон 14 яну 2008 17:31
Автомобил: VW PASSAT USA
Двигател: KR 16V 9A
Местоположение: София

Re: климатроник Б4 - Тази част ???

Мнениеот Namesata » Пон 02 фев 2009 18:38


незнам не съм автоклиматичар но предполагъм е някакъв филтър не те съветвам да промиваш с корселин 2 капки корселин вода или нещо от сорта ако попаднат на точното място може компресора да получи хидравличем удар(инфаркт).А относно капилярката и ТРВ-то седят преди изпарителя като свалиш жабката има едно навито като тел ма по добре не бараи.А защо искаш да го промиваш това имаш ли проблем с климатика и каквъ е проблема?


Потребителски аватар
kofata
Мнения: 216
Регистриран на: Пон 26 май 2008 18:40
Автомобил:
Двигател:
Местоположение: София

Re: климатроник Б4 - Тази част ???

Мнениеот kofata » Пон 02 фев 2009 19:07


проблемът е следния: като взех колата компресора беше скапан, смених го с друг втора ръка. Кара около месец и край. Казвам си: ще разглобя да го видя какво му е и :shock сепаратора на аксиалния лагер на трески - малки тружки, сачмите му разпилени. Говорих с майстора и той каза нов филтър дехидратор и промивка с коресилин, но дали само отделни частни незнам. За това питам какво да купувам и какво трябва да промивам.


Потребителски аватар
Namesata
Мнения: 728
Регистриран на: Пон 14 яну 2008 17:31
Автомобил: VW PASSAT USA
Двигател: KR 16V 9A
Местоположение: София

Re: климатроник Б4 - Тази част ???

Мнениеот Namesata » Пон 02 фев 2009 19:44


за промивка незнам какво да те посъветвам освен с въздух да ги продухаш трабопроводите нов филтър да надуеш системата с азот да не би да изпуска от някъде,един хубав вакуум на системата малко фреон но трябва да се откриие причината поради която компресора ти заминава.Като взе компресора смени ли му маслото?


Потребителски аватар
kofata
Мнения: 216
Регистриран на: Пон 26 май 2008 18:40
Автомобил:
Двигател:
Местоположение: София

Re: климатроник Б4 - Тази част ???

Мнениеот kofata » Пон 02 фев 2009 19:48


май Да, защото тестват системата първо на вакуум и после я пълнят с фреон и масло (ярко зелено май беше). Само с въздух, така ли да промивам? ами ако има в някои от радиоторите (изпарител и кондензатор) парченце метал (стружка) ?? какво правим?
И все пак ако някой знае каква е тази част да пише :banghead:


Потребителски аватар
zdrash
Мнения: 684
Регистриран на: Сря 12 апр 2006 12:16
Автомобил: Touareg 7P
Двигател: CVWA
Местоположение: RED village

Re: климатроник Б4 - Тази част ???

Мнениеот zdrash » Пон 02 фев 2009 20:15


най вероятно е разширителен съд


Потребителски аватар
Namesata
Мнения: 728
Регистриран на: Пон 14 яну 2008 17:31
Автомобил: VW PASSAT USA
Двигател: KR 16V 9A
Местоположение: София

Re: климатроник Б4 - Тази част ???

Мнениеот Namesata » Пон 02 фев 2009 20:37


Съмнявам се да има някъде метални частици нали за това са филтрите.Тръбите от вътре омаслени ли са.Закараи колата при някои много добър специалист за да знаеш че ще стане както трябва.Ако мислиш ти да си правиш някои операциии не дръз системата отворена много дълго време.


Потребителски аватар
Namesata
Мнения: 728
Регистриран на: Пон 14 яну 2008 17:31
Автомобил: VW PASSAT USA
Двигател: KR 16V 9A
Местоположение: София

Re: климатроник Б4 - Тази част ???

Мнениеот Namesata » Пон 02 фев 2009 20:38


zdrash написа:най вероятно е разширителен съд

по вероятно е да е от безопасната игла на сенника


Потребителски аватар
kofata
Мнения: 216
Регистриран на: Пон 26 май 2008 18:40
Автомобил:
Двигател:
Местоположение: София

Re: климатроник Б4 - Тази част ???

Мнениеот kofata » Пон 02 фев 2009 21:05


омаслени са тръбите. Колкото да спрециалиста добър е, но искаше ми 120, 130 лева за дехидратор (а аз си го намерих за 45 лева пак нов), пак толкова (120) за промивка на с-мата и каза ако искам компресора той може да го оправи за 150, ако не да си намеря аз. Те за това баце сондирам мнение и мисля да го почвам не е толкова сложно мисля, колкото изглежда
колега не е разширителен съд, намесата добре си го каза с "иглата" :Mr Green Fun


Колеги, никой ли не знае за какво служи тази част? :|


Потребителски аватар
zfa159
Мнения: 7920
Регистриран на: Сря 31 яну 2007 12:16
Автомобил: Skoda Karoq FL + Passat B4 Syncro
Двигател: DXRB AGG
Местоположение: София
Контакти:

Re: климатроник Б4 - Тази част ???

Мнениеот zfa159 » Вто 03 фев 2009 23:04


Трябва да имаш в предвид няколко неща за дехидратора и въоще за системата :
-по-стария вариант го дават с компресор за фреон R12
-по-новия вариант го дават за система с фреон R134A
Говорил съм си с климатикаджии и хората казват така :
-за да се смени типа на фреона (понеже по-стария вече е забранен заради екологични норми) с по-новия (при пълнене и т.н. примерно) трябва да се смени дехидратора задължително понеже са различни (незнам защо) и маркучите защото за по-стария не издържали на новия и след кратко време се разждали.
Климатичните системи при колите минават на по-новия фреон от началото на 92-ра....ако на компресора ти има зелена лепенка и пише фреон R134A си с по-новата система (по това се разбира основно) ама би трябвало климатикаджията ти да знае.
По повод промивката - най-лошото за клиамтичната система е вътре да влезе влага дори от околната среда...а ти искаш да си вкараш насила и нищо чудно после да даде фира деихдратора.
По повод твоя проблем - вероятно е повреден досегашния ти дехидратор....защото отваряйки системата за смяна на стария компресор в нея попада влага....оттам вече като не работи дехидратора влагата стига до новия компресор и той....прави масивен инфаркт както колега горе беше казал :mrgreen: ...и дотам. Така че трябва да си смениш дехидратора (хората препоръчват на всяко отваряне на системата да се сменя дехидратора).
Това за промивката....бая гумички има по системата....а коресилина не е много приятелски настроен към тях.Промивката се прави с въздух под не много високо налягане и то задължително с компресор с дехидратор.
А тази част е наистина някакъв разширителен съд понеже не фигурира като отделна част с някакво значение в системата mhihi :
clima.JPG

А за компресора питаъ колегата letajanta - даваше ги за по 70 или 80лв бройката и би ти го сменил ако не тръгне или е проблемен....много свестен човек :bowdown


Потребителски аватар
kofata
Мнения: 216
Регистриран на: Пон 26 май 2008 18:40
Автомобил:
Двигател:
Местоположение: София

Re: климатроник Б4 - Тази част ???

Мнениеот kofata » Сря 04 фев 2009 9:20


Колега zfa159 мерси за отговора. Компресора и вообще цялата система е за фреон 134а има си лепенка и т.н. Тази скица която си сложил и аз е имам от етка, но питам за тази част първо, защото при по старите модели (Б3-климатик) въпросната част я няма и колко е важна при условие че веднъж я има, веднъж я няма и второ, търсих в и-бея и немарих за около 150 евра. Какъв е този разширителен съд незнам и незнам за какво служи :roll: но е много по скъп от дехидратора. Колкото до промивката и аз мисля, че е най-добре само с въздух, но майстора спомена за коресилин и за това питам. Ще се свържа с колегата за компресора защото цената е под всякаква критика (70,80 чиста далавера :drunk )


Потребителски аватар
zfa159
Мнения: 7920
Регистриран на: Сря 31 яну 2007 12:16
Автомобил: Skoda Karoq FL + Passat B4 Syncro
Двигател: DXRB AGG
Местоположение: София
Контакти:

Re: климатроник Б4 - Тази част ???

Мнениеот zfa159 » Сря 04 фев 2009 10:22


Сега гледам пак и си прав - за фреон R12 няма такъв елемент....като гледам откъде влиза едната тръба и накъде излиза другата вероятно е нещо,което предпазва тръбите от рязко изменяне на налягането....то се изменя малко по-плавно понеже едната тръба влиза от едната страна а другата излиза под 90 градуса спрямо първата....мъча се да вкарам някаква логика.
Няма номерация в ЕТКА на тема какво е това и да се продава като отделна част....идея си нямам.
Иначе за комопресора - потърси от колеги,които продават кола на части със същия - дават ги на цена 70-80лв от Голф и Пасат...пък фори да е около 100 пак е по-добре....не е случаен.Звънни и на Спас (въпросния колега от по-горе) ама доколкото помня такава цена ми каза преди време.
Ако климатроника е слаган после са ралзични така че внимавай и гледай много преди да си вземеш някакъв...дори климатроника да е оригинален след време може да е сменян с друг...и тогава са преправени и маркучите....гледай внимателно!
Успех!


Потребителски аватар
kofata
Мнения: 216
Регистриран на: Пон 26 май 2008 18:40
Автомобил:
Двигател:
Местоположение: София

Re: климатроник Б4 - Тази част ???

Мнениеот kofata » Сря 04 фев 2009 14:17


zfa159 прав си, гледах за номер-няма; гледах всички номера с тази и без тази издутина за голф или пасат или венто някой имат други нямат номер, както и да е.
Моля някой да ми даде номер или некакви координати на майстор по тази част, който дами разясни тази "издутина". Защо при по-стария фреон я няма а при 134а го има.???



Върни се в “Passat”

Кой е на линия

Потребители, разглеждащи този форум: Няма регистрирани потребители и 38 госта