Мигаща лампа за подгрев Пасат Б7 1.6 ТДИ 2012 г.

Техническа и сервизна информация за Passat
Harley-Davidson
Мнения: 74
Регистриран на: Чет 22 сеп 2016 14:15
Автомобил:
Двигател:

Мигаща лампа за подгрев Пасат Б7 1.6 ТДИ 2012 г.

Мнениеот Harley-Davidson » Съб 16 сеп 2023 15:12


Здравейте колеги, вчера след като я бях загасил запали от 3-тия път, след което по време на движе светна лампата за подгрев. Колата си имаше мощност но мига лампата на подгрева. Закачих я на ВАГ КОМ и ми показа грешка 2 Faults Found:
14356 - Exhaust Gas Temperature Sensor 4 Bank 1
P246E 00 [165] - Electrical Malfunction както и 10119 - High Pressure Fuel Rail
P00C6 00 [096] - Minimum Pressure Not Reached
Intermittent - Not Confirmed - Tested Since Memory Clear
След изчистване грешката на рейла изчезна, но другата не може да се изтрие. Разрових се в нета и видях за този сензор, че се намира най-отзад в дпф и в дясно под шофьорската седалка. Някой сменял ли го е този сензор, да даде насоки, и евентуално и този за високото налягане на рейла. Другото ми питсне е дали не е по-добре ДПФ да бъде отстранен софтуерно и има ли проблеми след това, тъй като преди имах Мерцедес, на който ДПФ-а беше премахнат и чат-пат правеше проблеми. Забравих да кажа, колата е ново-внесена




Потребителски аватар
Ивайло Димов
предупреждение за БАН
Мнения: 1519
Регистриран на: Пон 31 май 2021 19:02
Автомобил: Seat Toledo
Двигател: 1800 -20V -AGN -1999
Местоположение: Шумен

Re: Мигаща лампа за подгрев Пасат Б7 1.6 ТДИ 2012 г.

Мнениеот Ивайло Димов » Съб 16 сеп 2023 15:54


03L906088CE
Това е ОЕ номера ....търси Bosch,NGK или Pierburg около 200 лева и отгоре.Не взимай евтина част .Самата смяна е тегава щото е на трудно място .За махането на ДПФ ...ако е наред нека си стои .На рейла имаш сензор в лявата част е мисля а клапана е отдясно ....принципно се предава датчика .И там търсиш доказан производител.


Harley-Davidson
Мнения: 74
Регистриран на: Чет 22 сеп 2016 14:15
Автомобил:
Двигател:

Re: Мигаща лампа за подгрев Пасат Б7 1.6 ТДИ 2012 г.

Мнениеот Harley-Davidson » Съб 16 сеп 2023 15:59


Ивайло Димов написа:03L906088CE
Това е ОЕ номера ....търси Bosch,NGK или Pierburg около 200 лева и отгоре.Не взимай евтина част .Самата смяна е тегава щото е на трудно място .За махането на ДПФ ...ако е наред нека си стои .На рейла имаш сензор в лявата част е мисля а клапана е отдясно ....принципно се предава датчика .И там търсиш доказан производител.

Благодаря много колега за отговора и за ОЕМ номера. Ще ги сменя двата и ще пиша.


Потребителски аватар
Ивайло Димов
предупреждение за БАН
Мнения: 1519
Регистриран на: Пон 31 май 2021 19:02
Автомобил: Seat Toledo
Двигател: 1800 -20V -AGN -1999
Местоположение: Шумен

Re: Мигаща лампа за подгрев Пасат Б7 1.6 ТДИ 2012 г.

Мнениеот Ивайло Димов » Съб 16 сеп 2023 16:00


Кои двата ще сменяш ? Този пред DPF е друг ОЕ номер....И него ли искаш да смениш?


Harley-Davidson
Мнения: 74
Регистриран на: Чет 22 сеп 2016 14:15
Автомобил:
Двигател:

Re: Мигаща лампа за подгрев Пасат Б7 1.6 ТДИ 2012 г.

Мнениеот Harley-Davidson » Съб 16 сеп 2023 16:03


Ивайло Димов написа:Кои двата ще сменяш ? Този пред DPF е друг ОЕ номер....И него ли искаш да смениш?

Ще сменя този дефектния и този на рейла за високото ( двата от грешките )


Потребителски аватар
Ивайло Димов
предупреждение за БАН
Мнения: 1519
Регистриран на: Пон 31 май 2021 19:02
Автомобил: Seat Toledo
Двигател: 1800 -20V -AGN -1999
Местоположение: Шумен

Re: Мигаща лампа за подгрев Пасат Б7 1.6 ТДИ 2012 г.

Мнениеот Ивайло Димов » Съб 16 сеп 2023 16:08


03L906054A

03L906051

Два номера излизат за датчика на рейла

И двата стават но все пак виж на твоя кво пише.Успех


Harley-Davidson
Мнения: 74
Регистриран на: Чет 22 сеп 2016 14:15
Автомобил:
Двигател:

Re: Мигаща лампа за подгрев Пасат Б7 1.6 ТДИ 2012 г.

Мнениеот Harley-Davidson » Вто 19 сеп 2023 18:43


Ивайло Димов написа:03L906054A

03L906051

Два номера излизат за датчика на рейла

И двата стават но все пак виж на твоя кво пише.Успех

Колега, след малко по задълбочена проверка на живи данни установих, че егр на пасателата е премахнат софтуерно и явно са пипали по ДПФ нещо с цел да го изолират софтуерно но не са се справили както трябва. Утре наливам нов софт и ще ги премахнат момчетата както трябва. Сега ми е интересно как да счупя питата на ДПФ с цел да го отпуша, защото така ще се прецака турбото ако не го избуша


Потребителски аватар
MamaMy
Мнения: 1117
Регистриран на: Вто 27 юни 2006 22:33
Автомобил: Galaxy
Двигател: AUY 2003г
Местоположение: Едно малко село край Плевен

Re: Мигаща лампа за подгрев Пасат Б7 1.6 ТДИ 2012 г.

Мнениеот MamaMy » Вто 19 сеп 2023 18:48


Къртач или перфоратор ще ти свършат работа. Гледай да не останат парчета защото ще ти запушат тръбите. Моите майстори имат едно метално столче с дупка на седалката. Там нанизват сваления филтър или катализатор и с дълго свредло за бетон го подпукват. След това го клатят на няколко пъти докато не изпадне всичко.

Последна промяна от MamaMy на Вто 19 сеп 2023 18:57, променено общо 1 път.


Потребителски аватар
Ивайло Димов
предупреждение за БАН
Мнения: 1519
Регистриран на: Пон 31 май 2021 19:02
Автомобил: Seat Toledo
Двигател: 1800 -20V -AGN -1999
Местоположение: Шумен

Re: Мигаща лампа за подгрев Пасат Б7 1.6 ТДИ 2012 г.

Мнениеот Ивайло Димов » Вто 19 сеп 2023 18:51


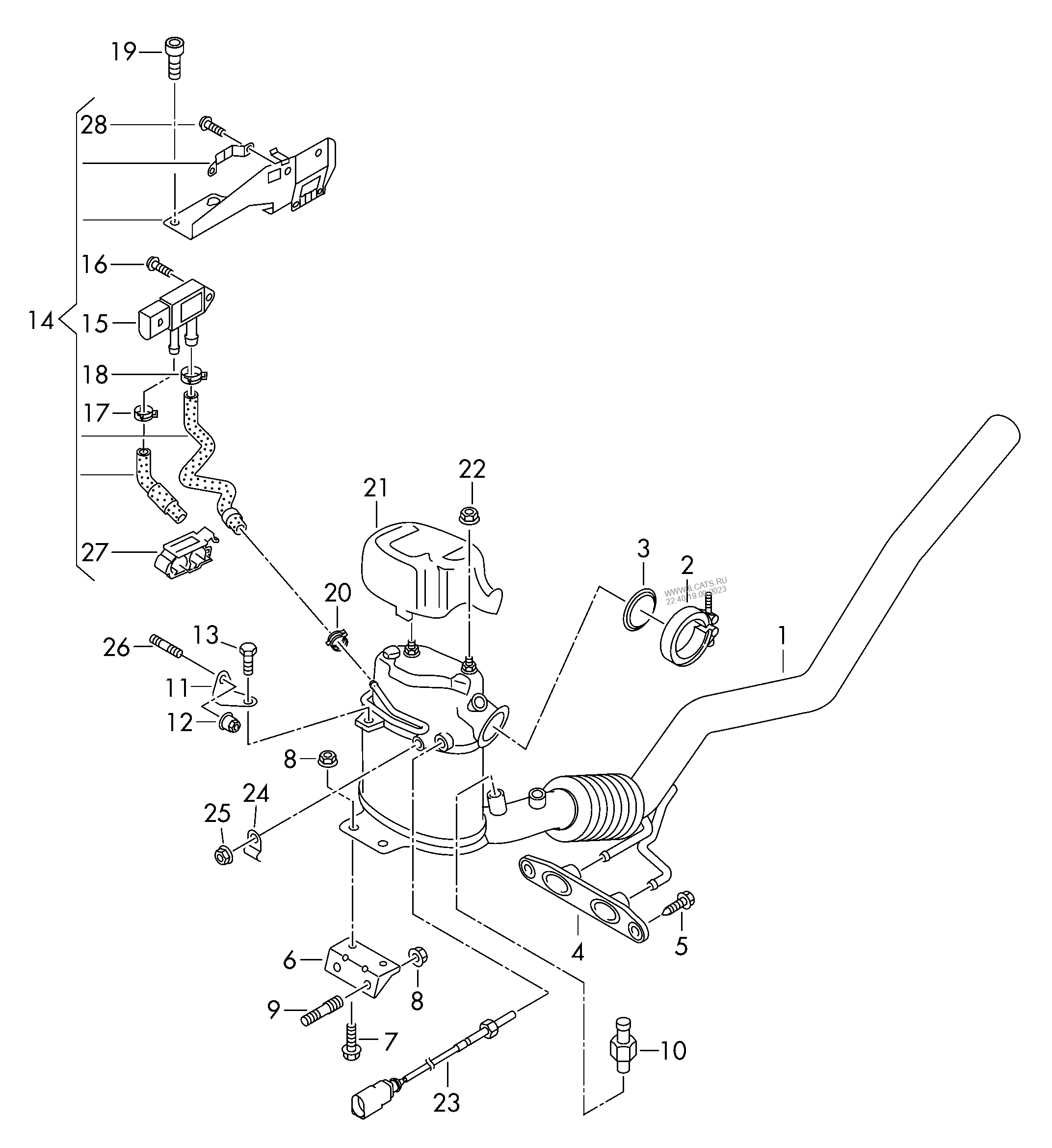
Колата освен ДПФ има и катализатор .Гледайте и него да не почупите !


Harley-Davidson
Мнения: 74
Регистриран на: Чет 22 сеп 2016 14:15
Автомобил:
Двигател:

Re: Мигаща лампа за подгрев Пасат Б7 1.6 ТДИ 2012 г.

Мнениеот Harley-Davidson » Вто 19 сеп 2023 21:12


Ивайло Димов написа:Колата освен ДПФ има и катализатор .Гледайте и него да не почупите !

Предполагам ДПФ е към турбото, а катализатора е надолу


Потребителски аватар
Ивайло Димов
предупреждение за БАН
Мнения: 1519
Регистриран на: Пон 31 май 2021 19:02
Автомобил: Seat Toledo
Двигател: 1800 -20V -AGN -1999
Местоположение: Шумен

Re: Мигаща лампа за подгрев Пасат Б7 1.6 ТДИ 2012 г.

Мнениеот Ивайло Димов » Вто 19 сеп 2023 21:43


Не ,всичко е в една кутия на едно място
Прикачени файлове
getImage.png
(67.25 KиБ) Все още не е свален



Върни се в “Passat”

Кой е на линия

Потребители, разглеждащи този форум: Няма регистрирани потребители и 27 госта