Здравейте колеги.
Имах проблем с трудно включване на скоростите на Шарана. Проблемът се изразяваше в следното: понякога превключвам на втора- лоста си отива на мястото-пускам съединителя и се чува хъркане от скоростната кутия. Правеше го рядко най-вече на втора предавка а няколо пъти и с първа и трета. Понеже не хърхори в момента на превклчючване а чак след отпускане на съединителя, реших че не е дефектен синхронизатор или повреда в съединителя, а че повредата е в системата за избор на предавка.
Порових из нета и попаднах на клипче за Голф 4 в което уплътняваха ябълката на лоста с подлагане на картон. Моят лост също имаше луфт нагоре-надолу затова го уплътних ползвайки метода от клипчето.
Ето как протече това:
Първо развих топката и откопчах с нож пластината държаща ,маншона към конзолата:
После развих четирите винта с шестостенни глави и шлиц за кръстата отвертка за да махна корубата на конзолата:
Дунапренът около и над механизма се изсулва нагоре, като внимаваме да не откъснем осветлението на пепелника :).
После развиваме трите винта Torx T20и достигаме до горния тампон на ябълката:
Махаме горния тампон и избиваме бялата пластмасова ос която се вижда на горната снимка зад ябълката на лоста. Тогава дръпваме лоста нагоре и изваждаме ябълковидното съединение отдясно на лоста:
Sharan 7M 1.9 TDI AFN 1997 Подобряване превлкючването на предавките
- goppa
- VW експерт

- Мнения: 8011
- Регистриран на: Вто 04 сеп 2012 19:25
- Автомобил: Seat Alhambra
- Двигател: CFFB
- Местоположение: Горна Оряховица
Sharan 7M 1.9 TDI AFN 1997 Подобряване превлкючването на предавките
Последна промяна от goppa на Пон 01 май 2017 20:13, променено общо 1 път.
- goppa
- VW експерт

- Мнения: 8011
- Регистриран на: Вто 04 сеп 2012 19:25
- Автомобил: Seat Alhambra
- Двигател: CFFB
- Местоположение: Горна Оряховица
Re: Sharan 7M 1.9 TDI AFN 1997 Подобряване превлкючването на предавките
После избиваме ябълковидното съединение на лявото жило от долната страна на лоста. Става с натискане надолу.
И изваждаме лоста навън:
Скъсаният червен О-пръстен отдолу изпълнява ролята на тампон и е добре да го сменим с верния ф9x3мм.
Измиваме ябълката и я гресираме. После подлагаме картонена лента около долния тампон на ябълката за да му свием диаметъра и да обере луфта на ябълката:
Сглобяваме всичко по обратния ред. Набиването на ябълковиднот съединение към жилото изисква повечко усилие а пространството е ограничено но няма драми и с това.
Ето я схемата на лоста за скоростите:
Така ликвидираме луфта на ябълката. Но има и още износващи се детайли по този механизъм и те не са в купето :)
- goppa
- VW експерт

- Мнения: 8011
- Регистриран на: Вто 04 сеп 2012 19:25
- Автомобил: Seat Alhambra
- Двигател: CFFB
- Местоположение: Горна Оряховица
Re: Sharan 7M 1.9 TDI AFN 1997 Подобряване превлкючването на предавките
От другата страна на жилата, върху скоростната кутия стои една фордовщина дето я няма в никой друг VAG автомобил.
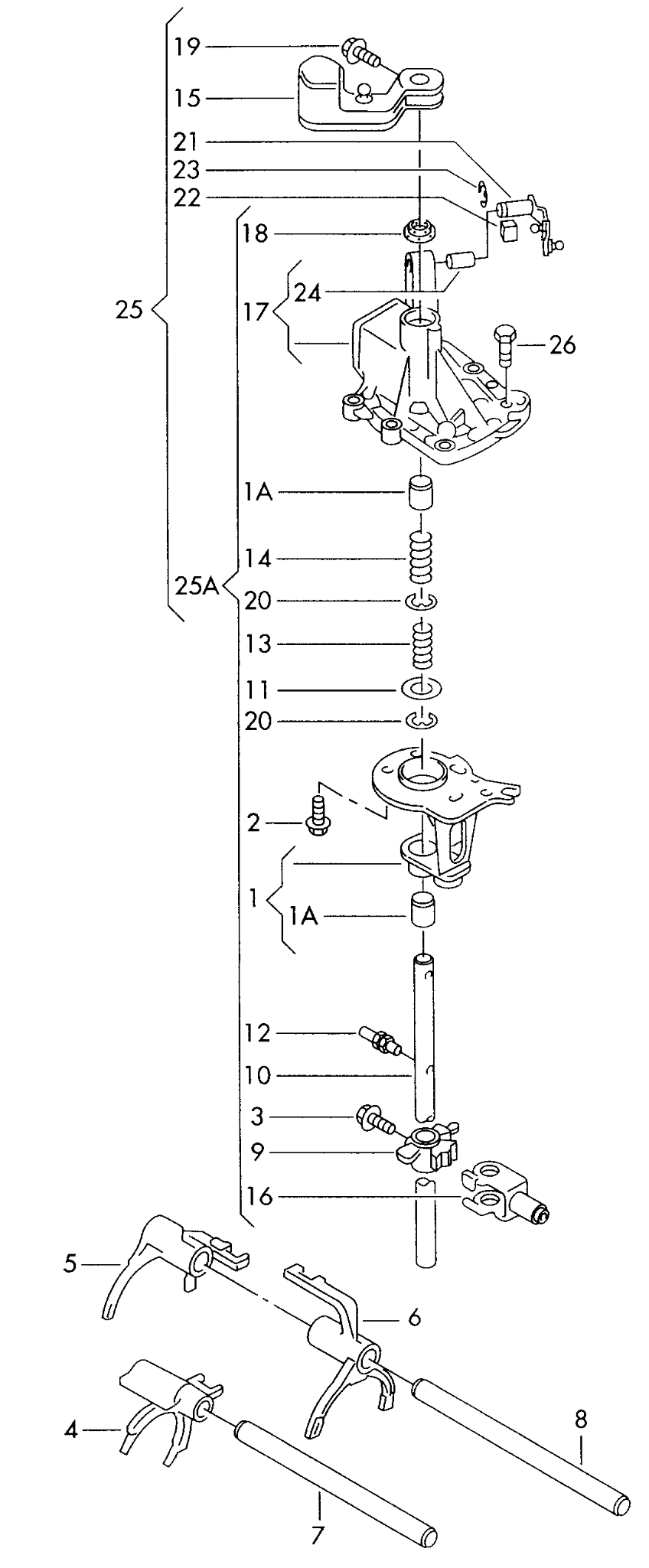
Ето я схемата на избирача на скоростите:
Детайл 22 в тази схема е едно миниатюрно пластмасово кубче с отвор за ябълковидно съединение. Той е се плъзга в един стоманен канал на открито и на сухо и е нормално след около 20 години употреба да се е поизтъркал :). Детайлът има VAG номер 006311703, но е безполезно да го търсите при дилърите на VAG, спрели са да го поддържат през 2015г. За щастие имаме роднини зад океана
. В представителствата на Форд го има, същия детайл се ползва и във Форд Транзит но там не е плъзгач а щипка с номер на Форд 1334993. Има го в MotoPfohe на цена 11,20лв.
Ето ги стария и новия ми плъзгачи:
Смяната на тая джвъчка става с лявата ръка. Не защото е лесно, а защото само нея успях да навра до избирача на скоростите
За да бръкна до мястото свалих турбо пътищата минаващи до акумулатора, самия акумулатор и пластмасите между него и разширителното казанче и бъркайки с лявата ръка под нафтовия филтър гледах през една миниатюрна дупка на стойката за акумулатора какво правя.
За изваждането на плъзгача е демонтира зегерката която се вижда на тази снимка:
После оста се избутва назад и плъзгача излиза от канала, Събуваме го от ябълката, гресираме новия, щракваме го на ябълката и сглобяваме всичко по обратен ред. Ето снимка на избитача от друг форум за да добиете представа къде е разположен тоя плъзгач.
И така след тея побългарявания на лоста и смяната на плъзгача скоростите си влизат гладко като в масло.
Ето я схемата на избирача на скоростите:
Детайл 22 в тази схема е едно миниатюрно пластмасово кубче с отвор за ябълковидно съединение. Той е се плъзга в един стоманен канал на открито и на сухо и е нормално след около 20 години употреба да се е поизтъркал :). Детайлът има VAG номер 006311703, но е безполезно да го търсите при дилърите на VAG, спрели са да го поддържат през 2015г. За щастие имаме роднини зад океана
. В представителствата на Форд го има, същия детайл се ползва и във Форд Транзит но там не е плъзгач а щипка с номер на Форд 1334993. Има го в MotoPfohe на цена 11,20лв.Ето ги стария и новия ми плъзгачи:
Смяната на тая джвъчка става с лявата ръка. Не защото е лесно, а защото само нея успях да навра до избирача на скоростите
За да бръкна до мястото свалих турбо пътищата минаващи до акумулатора, самия акумулатор и пластмасите между него и разширителното казанче и бъркайки с лявата ръка под нафтовия филтър гледах през една миниатюрна дупка на стойката за акумулатора какво правя.За изваждането на плъзгача е демонтира зегерката която се вижда на тази снимка:
После оста се избутва назад и плъзгача излиза от канала, Събуваме го от ябълката, гресираме новия, щракваме го на ябълката и сглобяваме всичко по обратен ред. Ето снимка на избитача от друг форум за да добиете представа къде е разположен тоя плъзгач.
И така след тея побългарявания на лоста и смяната на плъзгача скоростите си влизат гладко като в масло.
- Бай Иван
- Мнения: 538
- Регистриран на: Пет 22 авг 2008 7:42
- Автомобил: Skoda Fabia I Seat Alhambra
- Двигател: ASY AWC
- Местоположение: София
Re: Sharan 7M 1.9 TDI AFN 1997 Подобряване превлкючването на предавките
Редно е такива полезни теми да бъдат "забодени" с удивителен знак и да седят най-отгоре, както в другите подфоруми.
Евала за труда и споделянето.
Били пуснал линк и с филмчето.
Евала за труда и споделянето.
Били пуснал линк и с филмчето.
- kris11
- VW експерт

- Мнения: 13567
- Регистриран на: Нед 06 фев 2005 23:04
- Автомобил: VW Sharan 7M8
- Двигател: ADY_DBU_LPG LANDIRENZO OMEGAS
- Местоположение: Варна
- Контакти:
Re: Sharan 7M 1.9 TDI AFN 1997 Подобряване превлкючването на предавките
goppa - сега следва ли занимавка и със следващата по ред фордовщина - машинка за заден ход
?
При мен ме мъи 2-3г вече. Зада свети отзад трябва да притискам леко лоста назад, ама по цитираната от теб причина не ми се пипа. Най -много да подведа 2 проводника и с ключе.
Примерно решение за мързеливи хора :
При мен ме мъи 2-3г вече. Зада свети отзад трябва да притискам леко лоста назад, ама по цитираната от теб причина не ми се пипа. Най -много да подведа 2 проводника и с ключе.
Примерно решение за мързеливи хора :
Последна промяна от kris11 на Вто 09 май 2017 12:36, променено общо 2 пъти.
- goppa
- VW експерт

- Мнения: 8011
- Регистриран на: Вто 04 сеп 2012 19:25
- Автомобил: Seat Alhambra
- Двигател: CFFB
- Местоположение: Горна Оряховица
Re: Sharan 7M 1.9 TDI AFN 1997 Подобряване превлкючването на предавките
Не съм имал проблем с нея. Ама като знам къде е навряна, ще си светя с фенерче като давам на задна 

- stefarata
- Мнения: 1908
- Регистриран на: Нед 13 сеп 2009 10:56
- Автомобил: Ford S Max MK1
- Двигател: TDCI
- Местоположение: Карнобат
Re: Sharan 7M 1.9 TDI AFN 1997 Подобряване превлкючването на предавките
Имам точно същия симптом при включване на 2-ра, все едно че включвам на 2 степени. Ще направя тези процедури и дано да се оправи.
Благодаря на автора
Благодаря на автора
- goppa
- VW експерт

- Мнения: 8011
- Регистриран на: Вто 04 сеп 2012 19:25
- Автомобил: Seat Alhambra
- Двигател: CFFB
- Местоположение: Горна Оряховица
Re: Sharan 7M 1.9 TDI AFN 1997 Подобряване превлкючването на предавките
kris11 написа:При мен ме мъи 2-3г вече. Зада свети отзад трябва да притискам леко лоста назад, ама по цитираната от теб причина не ми се пипа. Най -много да подведа 2 проводника и с ключе.
Пробвaй първо с уплътнявaнето нa ябълкaтa!
- kris11
- VW експерт

- Мнения: 13567
- Регистриран на: Нед 06 фев 2005 23:04
- Автомобил: VW Sharan 7M8
- Двигател: ADY_DBU_LPG LANDIRENZO OMEGAS
- Местоположение: Варна
- Контакти:
Re: Sharan 7M 1.9 TDI AFN 1997 Подобряване превлкючването на предавките
goppa написа:kris11 написа:При мен ме мъи 2-3г вече. Зада свети отзад трябва да притискам леко лоста назад, ама по цитираната от теб причина не ми се пипа. Най -много да подведа 2 проводника и с ключе.
Пробвaй първо с уплътнявaнето нa ябълкaтa!
А не мерси няма да я бъде. Толкова много труд и време за нищо няма да я бъде .2 нови проводничета са на-лесното решение. Няма да правя челни стойки заради 1 машинка за заден ход.
- goppa
- VW експерт

- Мнения: 8011
- Регистриран на: Вто 04 сеп 2012 19:25
- Автомобил: Seat Alhambra
- Двигател: CFFB
- Местоположение: Горна Оряховица
Re: Sharan 7M 1.9 TDI AFN 1997 Подобряване превлкючването на предавките
Имах предвид ябълката на лоста. Става за 15 минути, докато си удобно седнал на шофьорското място :).
За плъзгача 1334993 обаче, или за самата машинка за включване на задната светлина си е доста разглобяване и кълчене.
За плъзгача 1334993 обаче, или за самата машинка за включване на задната светлина си е доста разглобяване и кълчене.
- bobitur
- Мнения: 1172
- Регистриран на: Съб 02 юни 2007 17:26
- Автомобил: ford galaxy 1.9 tdi 90+chip
- Двигател: 1Z
- Местоположение: Пловдив
Re: Sharan 7M 1.9 TDI AFN 1997 Подобряване превлкючването на предавките
Аз го уплътних с две свински опашки и то отгоре като стегнах заедно с гумения пръстен, лоста е стегнат ама пак на първа по някой път е включване на две степени.
- goppa
- VW експерт

- Мнения: 8011
- Регистриран на: Вто 04 сеп 2012 19:25
- Автомобил: Seat Alhambra
- Двигател: CFFB
- Местоположение: Горна Оряховица
Re: Sharan 7M 1.9 TDI AFN 1997 Подобряване превлкючването на предавките
Забелязал съм че ако напъвам лоста прекалено силно наляво при включване на 1 или 2 се получава това двустепенно включване.
Скъсаният червен о-пръстен на снимката във второто мнение изпълнява ролята на ограничител и тампон, при мен не е с верния размер (сложих какъвто намерих). Ще го сменя да видя как ще е.
Скъсаният червен о-пръстен на снимката във второто мнение изпълнява ролята на ограничител и тампон, при мен не е с верния размер (сложих какъвто намерих). Ще го сменя да видя как ще е.
-
kuuuuul
- Мнения: 37
- Регистриран на: Сря 17 фев 2010 10:26
- Автомобил: Sharan
- Двигател: 2.0 ADY 1997
- Местоположение: sofia
Re: Sharan 7M 1.9 TDI AFN 1997 Подобряване превлкючването на предавките
Евала за темата,много е полезна .И аз имам подобен проблем.
Върни се в “Sharan, Touran & Caddy”
Кой е на линия
Потребители, разглеждащи този форум: Няма регистрирани потребители и 52 госта
