мерси предварително.
търся ел. схема на транспортер Т3
-
nasco_h_g
- Мнения: 2
- Регистриран на: Нед 07 юни 2009 19:00
- Автомобил:
- Двигател:
- Местоположение: Бургас
търся ел. схема на транспортер Т3
и по точно ел схема на фаровете(къси светлини) на Т3 85г. 1.6д (безсмъртния
)
мерси предварително.
мерси предварително.
- Ники_Петров
- Мнения: 48
- Регистриран на: Пет 21 мар 2008 17:00
- Автомобил:
- Двигател:
- Местоположение: София
Re: търся ел. схема на транспортер Т3
Пробвай да си свалиш програмата AutoData, в нея ще намериш и схемите.
- projekt zwo
- Мнения: 32
- Регистриран на: Пон 19 яну 2009 11:49
- Автомобил:
- Двигател:
- Местоположение: София
Re: търся ел. схема на транспортер Т3
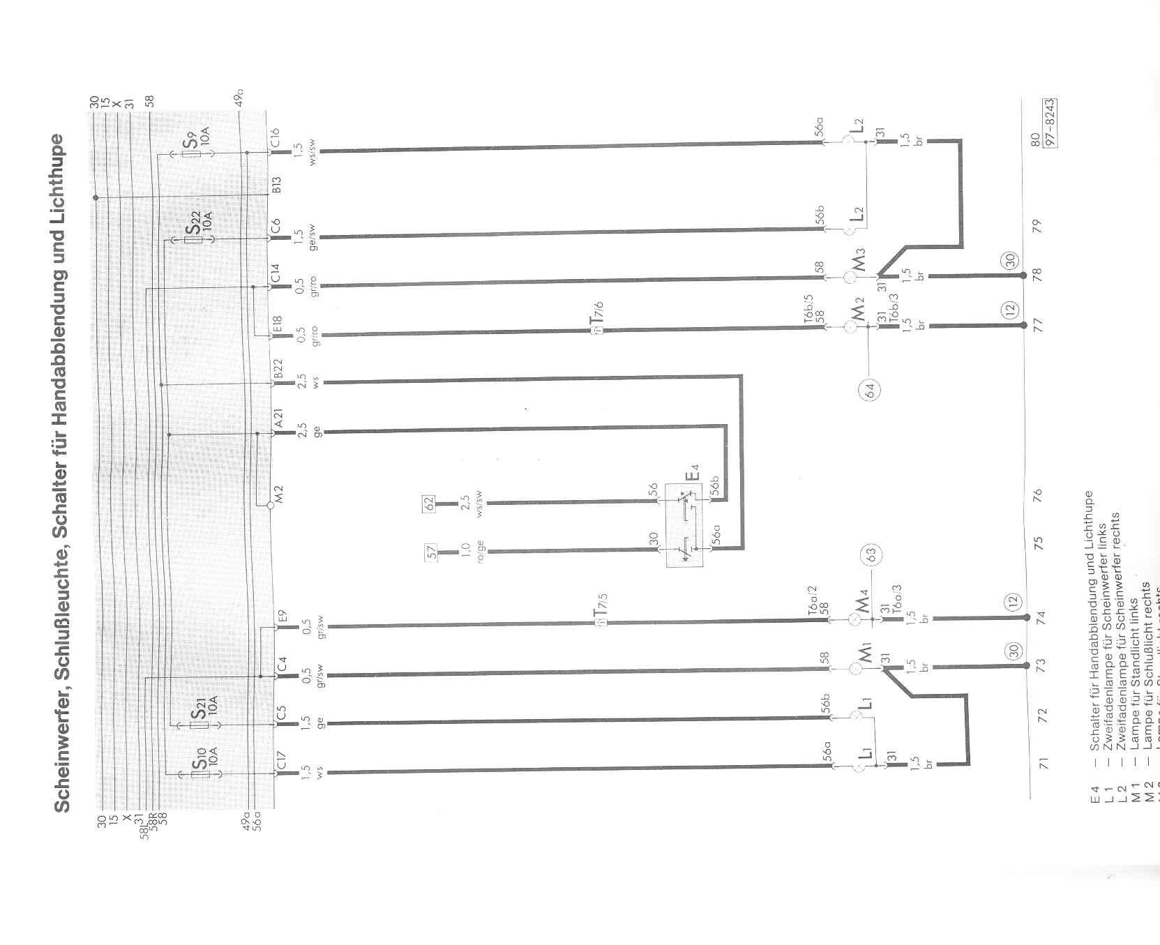
ето една схема.
-
nasco_h_g
- Мнения: 2
- Регистриран на: Нед 07 юни 2009 19:00
- Автомобил:
- Двигател:
- Местоположение: Бургас
Re: търся ел. схема на транспортер Т3
Благодаря за схемата projekt zwo
- projekt zwo
- Мнения: 32
- Регистриран на: Пон 19 яну 2009 11:49
- Автомобил:
- Двигател:
- Местоположение: София
Re: търся ел. схема на транспортер Т3
дано съм помогнал
Кой е на линия
Потребители, разглеждащи този форум: Няма регистрирани потребители и 59 госта
