Здравейте, скоро се сдобих с нов ляв, заден ъгъл за Т4'93 Multyvan-a си (старият незнайно и безследно изчезна), но като тръгнах да го слагам стана страшно.Изглежда за да влезе на мястото си трябва да се плъзне в три посоки едновремено: отстрани на калника има два канала по които трябва да се плъзне назад, в самата броня се нахлузва като чорап... и трябва да прескочи една планка, стърчаща от купето назад, за която се хваща с болт. Просто невиждам как може да стане всичко това.Моля ако някой има опит или идея да сподели.
Благодаря!
Т4 Смяна ъгъл на броня ?!?
- KingoftheROAD
- Мнения: 2486
- Регистриран на: Чет 14 юни 2007 23:53
- Автомобил: VW Transporter T4 1995
- Двигател: ACU
- Местоположение: Калояново
- Контакти:
Re: Т4 Смяна ъгъл на броня ?!?
Това успявам да изровя сега, повече матрял имам на работата...
- galyaradeva
- Мнения: 645
- Регистриран на: Чет 10 апр 2008 20:42
- Автомобил: Vw Caravelle 1998
- Двигател: VR6-140hp
- Местоположение: Ямбол-Норвегия
- Контакти:
Re: Т4 Смяна ъгъл на броня ?!?
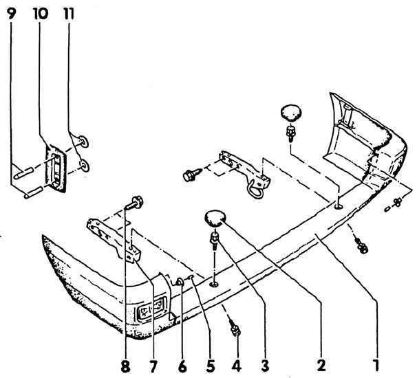
selfx Решението е сваляш цялата задна греда за да може първо на нея да се поставят ъглите.. и след това монтираш на купето вече цялата броня като вкарваш ъглите в тези пластмасови държачи.
Предполагам твоята броня е от този тип..
Предполагам твоята броня е от този тип..
- KingoftheROAD
- Мнения: 2486
- Регистриран на: Чет 14 юни 2007 23:53
- Автомобил: VW Transporter T4 1995
- Двигател: ACU
- Местоположение: Калояново
- Контакти:
Re: Т4 Смяна ъгъл на броня ?!?
От този тип е и моята, но ъглите се свалят и качват отделно, нямам време да снимам. А ЕТКА-та и ELSA-та сами на работата...
Кой е на линия
Потребители, разглеждащи този форум: Няма регистрирани потребители и 35 госта
