Чертеж на двигател
Чертеж на двигател
Здравейте, колеги. Предварително се извинявам ако на тази тема не и е мястоо тук, но просто незнаех каде да я напиша. Студент съм в ТУ-София, транспортен факултет. В началото на седмицата ми зададоха курсов проек, в който се изисква напречен, надлъжен и други необходими разрези на бензинов двигател по избор. Понеже карам VW Golf 3, 1.6 моно инжекция, 1993 година, 75 коня, ми се иска да начертая този двигател, но не можах да намеря нищо дори подобно в нета, затова се обръщам кам вас. Ако някой, може да ми изрови от някаде скици, схеми или дори подобни чертежи на този двигател, ще съм му много благодарен. 
- Mihailov78
- Мнения: 1112
- Регистриран на: Пет 30 апр 2010 11:15
- Автомобил: T3 Caravelle
- Двигател: DG 1900cc Petrol
- Местоположение: Sofia
Re: Чертеж на двигател
Задължително ли да бъде на автомобил? Едно V50 от карпати много по-лесно се чертае.
Re: Чертеж на двигател
Проекта е по ДВГ (двигатели с вътрешно горене) и предполагам, че всеки двигател с вътрешно горене ще ми свърши работа, но доколкото разбрах асистента има предпочитание да е на автомобил. Макар, че в краен случай ще се чертае нещо по-просто.
- vasstop
- Гадфадъ'

- Мнения: 17180
- Регистриран на: Сря 11 авг 2004 6:15
- Автомобил: Golf 2 syncro
- Двигател: 1P 1990
- Местоположение: София
- Контакти:
Re: Чертеж на двигател
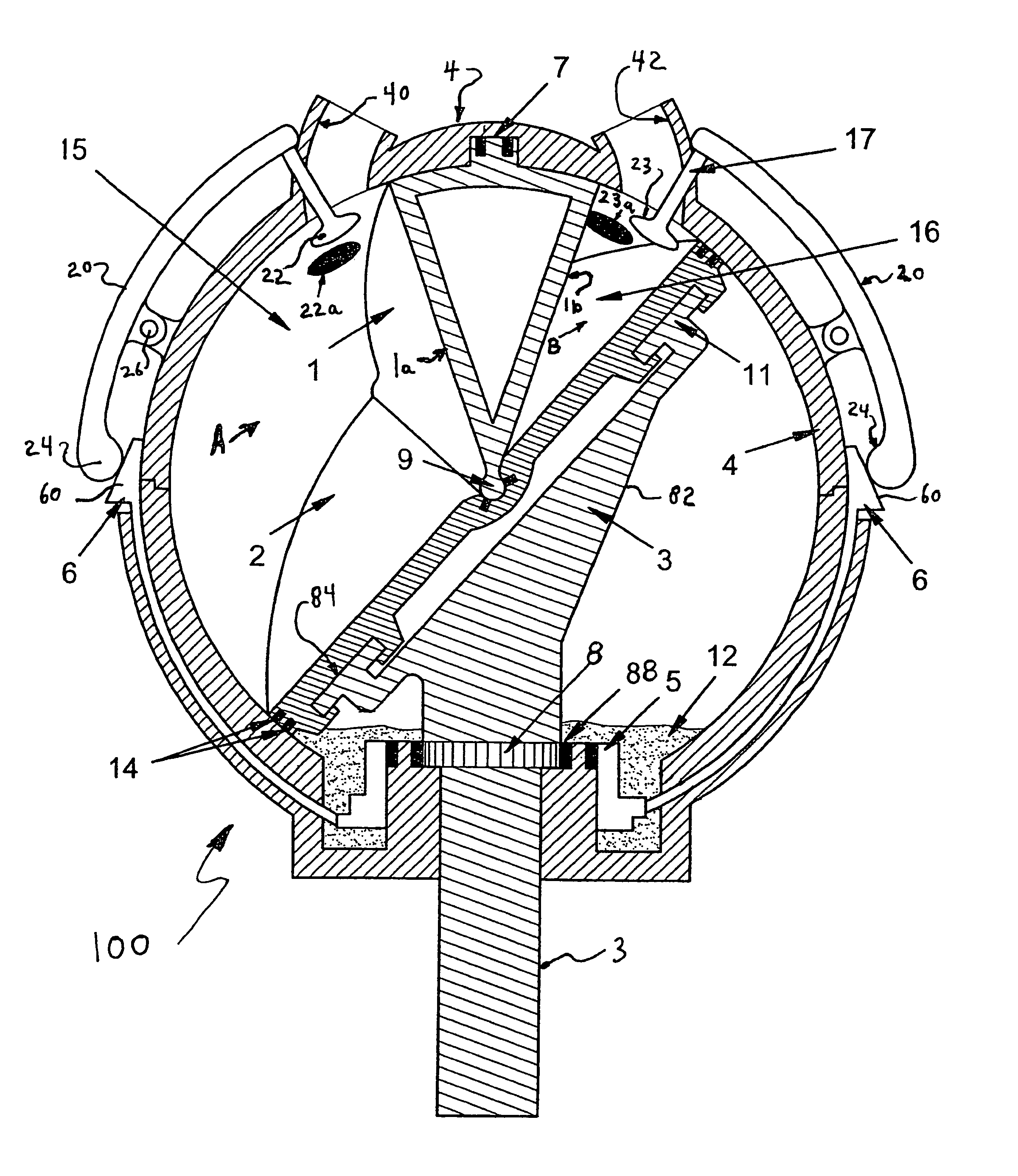
Я виж тук:
http://www.freepatentsonline.com/6796285.html
Ванкеловият двигател винаги ми е бил много интересен...
http://www.freepatentsonline.com/6796285.html
Ванкеловият двигател винаги ми е бил много интересен...
- Mihailov78
- Мнения: 1112
- Регистриран на: Пет 30 апр 2010 11:15
- Автомобил: T3 Caravelle
- Двигател: DG 1900cc Petrol
- Местоположение: Sofia
Re: Чертеж на двигател
Абе щом няма ограничения си начертай някой мотор на двутактова моторетка. По-лесно е в пъти.. това на автомобила мотора е с клапани, отвори, валове.. Ти си знаеш де
Ако решиш да чертаеш на мототпед мотора, драсни ЛС и ще намеря чертежите.
Ако решиш да чертаеш на мототпед мотора, драсни ЛС и ще намеря чертежите.
-
petkow
- Мнения: 129
- Регистриран на: Пон 21 апр 2008 20:15
- Автомобил:
- Двигател:
- Местоположение: Стара Загора
Re: Чертеж на двигател
Mihailov78 написа:Абе щом няма ограничения си начертай някой мотор на двутактова моторетка. По-лесно е в пъти.. това на автомобила мотора е с клапани, отвори, валове.. Ти си знаеш де![]()
Ако решиш да чертаеш на мототпед мотора, драсни ЛС и ще намеря чертежите.
По спомен преди години имаше подробни чертежи на "МЗ"тите във всяка книжка дето я даваха като инструкция-описание при закупуване на мотоциклет.Сещам се още и за "Симсон"ките - същата работа.
- ABSOLUT
- Мнения: 4439
- Регистриран на: Пет 20 яну 2006 1:14
- Автомобил: Passat B4+B7+Golf Mk1+Mk2 Country
- Двигател: 1Z + CFGC + JB + 1P
- Местоположение: София
- Контакти:
Re: Чертеж на двигател
Ritko написа:...
Точно на този двигател не знам, но ако напишеш "engine blueprint" в Google Изображениа, излизат доста чертежи на двигатели.
-
orlin4ooo
- Мнения: 388
- Регистриран на: Вто 16 ное 2010 22:44
- Автомобил:
- Двигател:
- Местоположение: София
Re: Чертеж на двигател
полезна тема колеги наистина ако има някой материали каквито и да са за да ги ползват студентите пращайте включително и на мен да се счита за ъп 
- RISTEE
- Мнения: 219
- Регистриран на: Пет 09 юли 2010 20:11
- Автомобил: Vw mk2 GT special
- Двигател: 1.8 RP
- Местоположение: riogrande
Re: Чертеж на двигател
И аз съм вече на тази тема за чертеж на двг по избор :)
-
lubopa4kata
- Мнения: 415
- Регистриран на: Съб 29 май 2010 10:39
- Автомобил:
- Двигател:
- Местоположение: lom
Re: Чертеж на двигател
намери си от друг колега от съседна група(или от предходна година от транспортен факултет,специалност транспортна техника ) и го изкопирай на прозорец и си готов 

- fly_free
- Мнения: 479
- Регистриран на: Пет 15 юни 2007 10:17
- Автомобил: т5
- Двигател: вrr
- Местоположение: София
- Контакти:
Re: Чертеж на двигател
Ако успея да го намеря имам чертеж на двуконтурен авиационен дмвигател,но е 1/1 три или четири метра чертеж.Използвал съм вътрешния контур за моята дипломна работа.Ще пиша на ЛС ако го намеря.
- RISTEE
- Мнения: 219
- Регистриран на: Пет 09 юли 2010 20:11
- Автомобил: Vw mk2 GT special
- Двигател: 1.8 RP
- Местоположение: riogrande
Re: Чертеж на двигател
Няма проблем колеги, мисля че ще се справя със задача но ако закъсам ще пиша !
Благодаря все пак :)
Благодаря все пак :)
- RISTEE
- Мнения: 219
- Регистриран на: Пет 09 юли 2010 20:11
- Автомобил: Vw mk2 GT special
- Двигател: 1.8 RP
- Местоположение: riogrande
Re: Чертеж на двигател
За момента ще го мъча на солид-а.
В интернета няма никъде чертежи на vw двигател, само ваз,газ и камаз....
В интернета няма никъде чертежи на vw двигател, само ваз,газ и камаз....
Върни се в “Общи автомобилни дискусии”
Кой е на линия
Потребители, разглеждащи този форум: Няма регистрирани потребители и 69 госта