Монтиране на оригинална метална кора под двигателя пасат Б7

Техническа и сервизна информация за Passat
Потребителски аватар
beboyan
Мнения: 318
Регистриран на: Сря 11 апр 2012 8:16
Автомобил:
Двигател:
Местоположение: България

Монтиране на оригинална метална кора под двигателя пасат Б7

Мнениеот beboyan » Сря 06 мар 2019 14:30


Здравейте Колеги,

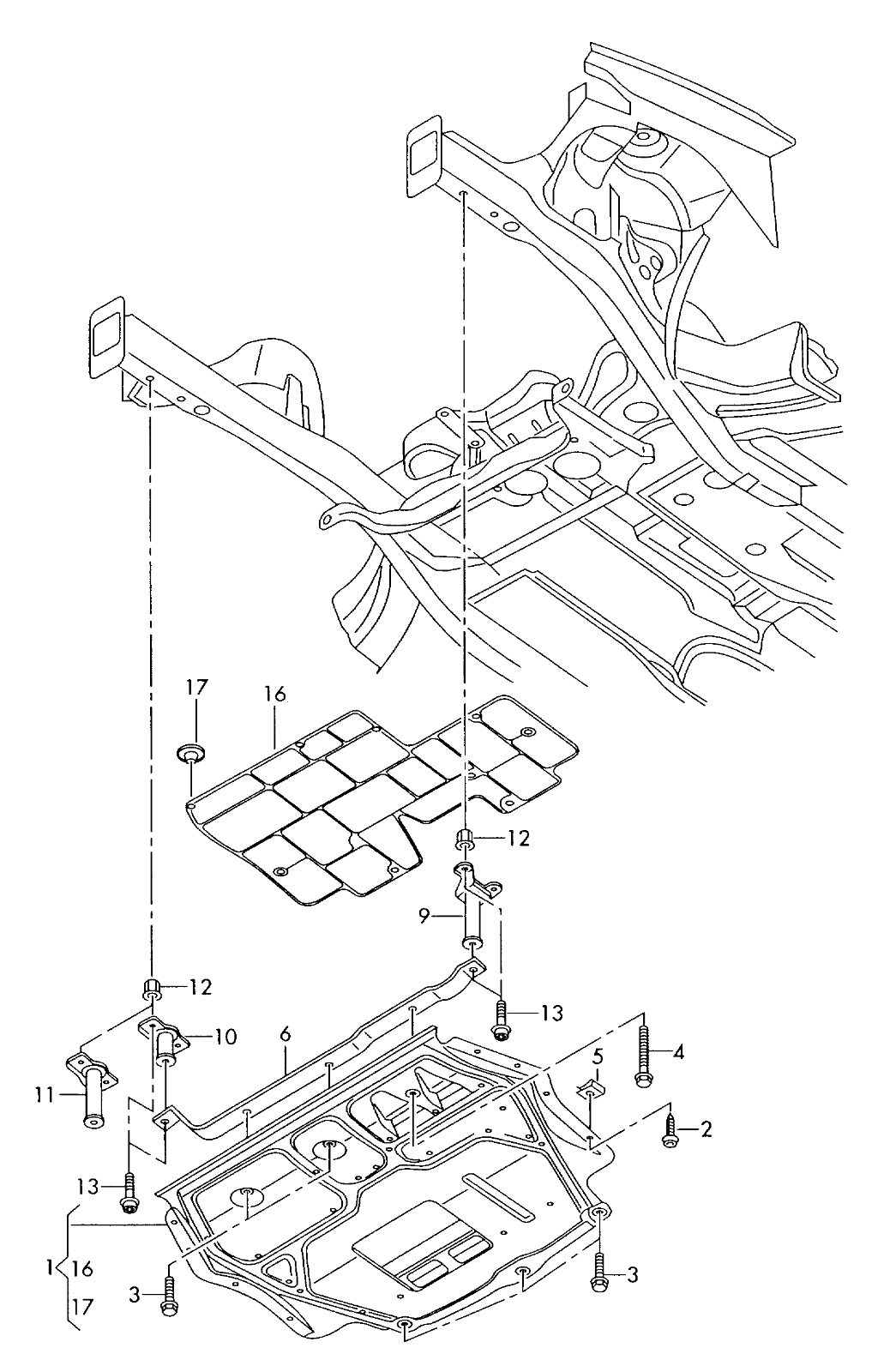
След поредните дупки и бордюри... реших да махна счупената пластмасова кора под двигателя на пасат б7 1.4 тси и да сложа метална такава. От ebay.de се снабдих с чисто нова 3C0 018 930 D.

Кората тежи 12кг и ме съмнява да се задържи с обикновенните рапидки за пластмасовата кора.

Можете ли да ме насочите какви са оригиналните закрепващи елементи за тази подкартерна кора.

Много благодаря!

Последна промяна от beboyan на Сря 06 мар 2019 14:30, променено общо 2 пъти.




smart-bulgaria
Мнения: 46
Регистриран на: Съб 07 ное 2015 15:11
Автомобил: Passat 3C5
Двигател: BLS 2007
Местоположение: Sofia

Re: Монтиране на оригинална метална кора под двигателя пасат Б7

Мнениеот smart-bulgaria » Сря 06 мар 2019 16:56




Потребителски аватар
beboyan
Мнения: 318
Регистриран на: Сря 11 апр 2012 8:16
Автомобил:
Двигател:
Местоположение: България

Re: Монтиране на оригинална метална кора под двигателя пасат Б7

Мнениеот beboyan » Пет 08 мар 2019 23:15


Благодаря колега, сега ще започна издирване на частите. Болтовете са лесни, но другите държачи ще е интересно да изкочат от някъде.


Потребителски аватар
beboyan
Мнения: 318
Регистриран на: Сря 11 апр 2012 8:16
Автомобил:
Двигател:
Местоположение: България

Re: Монтиране на оригинална метална кора под двигателя пасат Б7

Мнениеот beboyan » Сря 11 сеп 2019 23:25


Само да спомена, че след монтирането на кората двигателният отсек си стои сравнително чист и не влиза толкова много прахоляк.



Върни се в “Passat”

Кой е на линия

Потребители, разглеждащи този форум: Hamelion92, pe6o__, slav4o08, tamer_1992 и 49 госта