VW Sharan TDI 115 Колата губи мощост след смяна на маркуч вакуумопровод
-
Zdravko Zankov
- VW експерт

- Мнения: 13627
- Регистриран на: Съб 07 мар 2009 13:41
- Автомобил: Skoda Octavia + Peugeot 308 T9 SW
- Двигател: AQY 2001 + Pure Tech 2017
- Местоположение: Враца
-
cecoa1
- VW експерт

- Мнения: 2033
- Регистриран на: Пет 22 апр 2011 20:21
- Автомобил: Passat 4motion[откраднат вече]
- Двигател: AVF
Re: Колата губи мощост по нанагорнище след смяна на маркуч вакуумо провод на фолсваген шаран дизел 2001г.115 к.с.
С махнат маркуч на сервото на спирачките, със сигурност тестовете на пътя не са толкова смели колкото когато има нормални спирачки
Т.е. обяснението на проблема е неточно, субективно, и спрямо възможностите на наблюдателя.
Вероятно да има пренадуване. Но за да влезе в авариен режим при пренадуване, трябват 6-7 секунди да се задържи налягането над максималните предвидени стойности. Т.е. трябва тия 6-7 секунди да се кара с много газ на висока предавка. Ама без усилвател на спирачките това би било доста опасно за движението, та със сигурност не се кара по същия начин. Когато човек не може да съобрази тези неща, за него просто в единия случай колата губи мощност, а в другия, не. А всъщност проблем си има по управлението на турбото, или по-вероятно е блокирала променливата геометрия. Блокирала геометрия е по-вероятно, защото се споменава, че дълго време колата е карана със спукан маркуч на сервото. От там вероятно геометрията не се е движила нормално дълго време, и е блокирала, задръстена от сажди.
А за фученето, може просто някои от останалите вакуумни маркучи да са разкачени, което също може да е причина за пренадуването. Ако се окаже само откачени/повредени маркучи, ремонта е многократно по-евтин и лесен, просто се сменят или се присъединяват където трябва.
Т.е. обяснението на проблема е неточно, субективно, и спрямо възможностите на наблюдателя.
Вероятно да има пренадуване. Но за да влезе в авариен режим при пренадуване, трябват 6-7 секунди да се задържи налягането над максималните предвидени стойности. Т.е. трябва тия 6-7 секунди да се кара с много газ на висока предавка. Ама без усилвател на спирачките това би било доста опасно за движението, та със сигурност не се кара по същия начин. Когато човек не може да съобрази тези неща, за него просто в единия случай колата губи мощност, а в другия, не. А всъщност проблем си има по управлението на турбото, или по-вероятно е блокирала променливата геометрия. Блокирала геометрия е по-вероятно, защото се споменава, че дълго време колата е карана със спукан маркуч на сервото. От там вероятно геометрията не се е движила нормално дълго време, и е блокирала, задръстена от сажди.
А за фученето, може просто някои от останалите вакуумни маркучи да са разкачени, което също може да е причина за пренадуването. Ако се окаже само откачени/повредени маркучи, ремонта е многократно по-евтин и лесен, просто се сменят или се присъединяват където трябва.
- goppa
- VW експерт

- Мнения: 8039
- Регистриран на: Вто 04 сеп 2012 19:25
- Автомобил: Seat Alhambra
- Двигател: CFFB
- Местоположение: Горна Оряховица
Re: Колата губи мощост по нанагорнище след смяна на маркуч вакуумо провод на фолсваген шаран дизел 2001г.115 к.с.
http://www.catcar.info/audivw/?lang=en& ... MjAyNDQ%3D
Турбото не е с променлива геометрия и не се управлява с вакуум. Проблема навярно идва от егр или клапа за гасене
- ZEDYCUS
- Мнения: 367
- Регистриран на: Нед 03 сеп 2006 21:46
- Автомобил: VW Sharan 1_9 TDI
- Двигател: AUY 2001
- Местоположение: Пловдив
- Контакти:
Re: Колата губи мощост по нанагорнище след смяна на маркуч вакуумо провод на фолсваген шаран дизел 2001г.115 к.с.
2001 година AUY Шаран е с променлива геометрия, поне моя е с такава има актуатор. Напоследък карам само в града и осезаемо се усеща как се е задръстила, спира да ускорява над 2500оборота или го прави по бавно от преди.
Ама дали на колежката е такъв рибока божа рабта. Има и с код BVK тези години и коне, пък той как се управлява идея си нямам.
Ама дали на колежката е такъв рибока божа рабта. Има и с код BVK тези години и коне, пък той как се управлява идея си нямам.
-
cecoa1
- VW експерт

- Мнения: 2033
- Регистриран на: Пет 22 апр 2011 20:21
- Автомобил: Passat 4motion[откраднат вече]
- Двигател: AVF
Re: Колата губи мощост по нанагорнище след смяна на маркуч вакуумо провод на фолсваген шаран дизел 2001г.115 к.с.
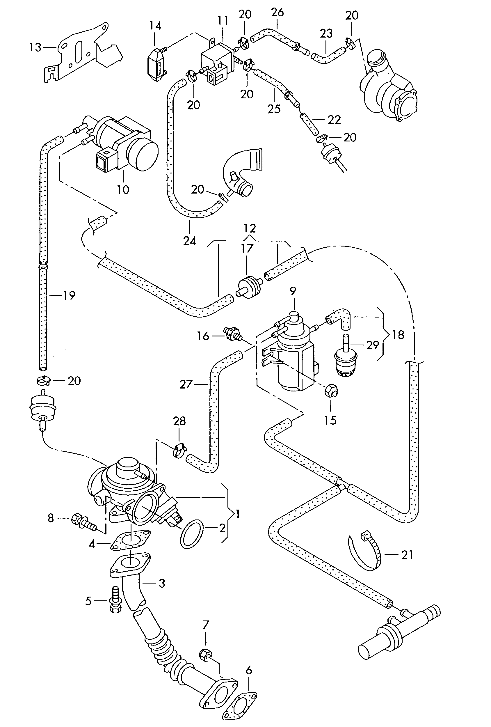
Ето ти я правилната картинка, че горната е за друг двигател(ANU, а търсим AUY):
http://www.catcar.info/audivw/?lang=en& ... NTUxOTQ%3D
ANU е 1,9PD с 90к.с.
http://www.catcar.info/audivw/?lang=en& ... NTUxOTQ%3D
ANU е 1,9PD с 90к.с.
Последна промяна от cecoa1 на Пет 12 ное 2021 13:21, променено общо 2 пъти.
- goppa
- VW експерт

- Мнения: 8039
- Регистриран на: Вто 04 сеп 2012 19:25
- Автомобил: Seat Alhambra
- Двигател: CFFB
- Местоположение: Горна Оряховица
Re: Колата губи мощост по нанагорнище след смяна на маркуч вакуумо провод на фолсваген шаран дизел 2001г.115 к.с.
Тази която си дал не е за вакуумите а за маслото
Върни се в “Sharan, Touran & Caddy”
Кой е на линия
Потребители, разглеждащи този форум: Няма регистрирани потребители и 42 госта