Vw passat b4-изчезнаха скоростите
- George Georgiev
- Мнения: 45
- Регистриран на: Пет 26 апр 2013 20:08
- Автомобил: VW PASSAT B4 1994
- Двигател: 2E
Vw passat b4-изчезнаха скоростите
Здравейте колеги
Вчера както си карах на цариградско, тръгнах да включвам на 5та скорост но нищо не се получи реално, и остана на 4та скорост. И след това започна да си прави каквото иска, мисля че имам само 3та и 4та предавка, всички други ги няма дори и задна няма независимо в какво положение е лоста за скорости,и ми направи впечатление че като е на скорост лоста си мърда настрани .
Едвам я докарах до един приятел на близо и я оставих :(
Има ли някой който се е сблъскавал с такъв проблем и от какво може да е породено?
Благодаря предварително
Вчера както си карах на цариградско, тръгнах да включвам на 5та скорост но нищо не се получи реално, и остана на 4та скорост. И след това започна да си прави каквото иска, мисля че имам само 3та и 4та предавка, всички други ги няма дори и задна няма независимо в какво положение е лоста за скорости,и ми направи впечатление че като е на скорост лоста си мърда настрани .
Едвам я докарах до един приятел на близо и я оставих :(
Има ли някой който се е сблъскавал с такъв проблем и от какво може да е породено?
Благодаря предварително
- goppa
- VW експерт

- Мнения: 8005
- Регистриран на: Вто 04 сеп 2012 19:25
- Автомобил: Seat Alhambra
- Двигател: CFFB
- Местоположение: Горна Оряховица
Re: Vw passat b4-изчезнаха скоростите
Откачено или скъсано жило на превключващия механизъм.
-
Zdravko Zankov
- VW експерт

- Мнения: 13548
- Регистриран на: Съб 07 мар 2009 13:41
- Автомобил: Skoda Octavia + Peugeot 308 T9 SW
- Двигател: AQY 2001 + Pure Tech 2017
- Местоположение: Враца
Re: Vw passat b4-изчезнаха скоростите
Гопе,при тоя Пасат май бяха щанги.
Не съм сигурен де.
По моя това не съм правил.
Не съм сигурен де.
По моя това не съм правил.
- Pet_rov
- Мнения: 4509
- Регистриран на: Сря 08 май 2013 16:16
- Автомобил: Passat Variant B4
- Двигател: ADZ 1996
- Местоположение: Шумен
Re: Vw passat b4-изчезнаха скоростите
Ако пасатът наистина е В4, е с жила. Поне моят е.
Re: Vw passat b4-изчезнаха скоростите
С жила е виж на избирача на скоростите отгоре има един пластмасов елемент струва около 10лв нов без отстъпка на тооран , става да се спаси положението.
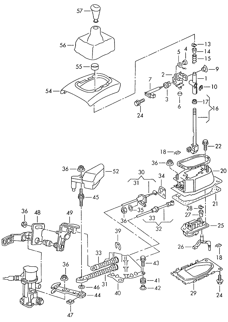
номер 49 от схемата


номер 49 от схемата


Последна промяна от DoH_KuXoT на Пет 01 юни 2018 9:27, променено общо 1 път.
- Vasseto
- Мнения: 2716
- Регистриран на: Вто 06 сеп 2005 17:09
- Автомобил: Passat B7 Passat B5_5 Jetta V
- Двигател: CFFB AVF BXE
- Местоположение: Пловдив
Re: Vw passat b4-изчезнаха скоростите
При моя B4 се разхлабваше тежеста върху избирача. Застава в някакво положение и не може да вкараш в скорост. Провери я. След неколкократно наместване и стягане се наложи да сменя и болта, който я държи.
По схемата: При мен се развиваше гайка 36 ,която държи топуза 52, навита в болт 45. Явно има различни изпълнения на избирача. В последствие от разхлабването на топуза се разхлабваше и гайка 47. След няколко такива сакатлъка се износи резбата на болт 45 и беше сменен.
По схемата: При мен се развиваше гайка 36 ,която държи топуза 52, навита в болт 45. Явно има различни изпълнения на избирача. В последствие от разхлабването на топуза се разхлабваше и гайка 47. След няколко такива сакатлъка се износи резбата на болт 45 и беше сменен.
Последна промяна от Vasseto на Пет 01 юни 2018 12:34, променено общо 3 пъти.
- ABSOLUT
- Мнения: 4438
- Регистриран на: Пет 20 яну 2006 1:14
- Автомобил: Passat B4+B7+Golf Mk1+Mk2 Country
- Двигател: 1Z + CFGC + JB + 1P
- Местоположение: София
- Контакти:
Re: Vw passat b4-изчезнаха скоростите
Зависи кое от двете жила се е откачило.
На мене пък преди една седмица ми се счупи детайл номер 44 от схемата на колегата DoH_KuXoT и колата остана на 4-та предавка.
Не знам как се чупи такова парче метал, може би има някакво напрежение което е довело до това...
Сега се явно трябва да обикалям морги и да го търся.
На мене пък преди една седмица ми се счупи детайл номер 44 от схемата на колегата DoH_KuXoT и колата остана на 4-та предавка.
Не знам как се чупи такова парче метал, може би има някакво напрежение което е довело до това...
Сега се явно трябва да обикалям морги и да го търся.
- George Georgiev
- Мнения: 45
- Регистриран на: Пет 26 апр 2013 20:08
- Автомобил: VW PASSAT B4 1994
- Двигател: 2E
Re: Vw passat b4-изчезнаха скоростите
Да колеги, мерси за бързите отговори, оказа се скъсано жило от към края на жилото към реглаж а където е
- George Georgiev
- Мнения: 45
- Регистриран на: Пет 26 апр 2013 20:08
- Автомобил: VW PASSAT B4 1994
- Двигател: 2E
Re: Vw passat b4-изчезнаха скоростите
Явно ще се сменя жило, но се чудя дали да не сменя целия с механизъм с двете н направо да не се налага това упражнение пак
- Водния дух1
- Мнения: 3481
- Регистриран на: Вто 21 май 2013 21:17
- Автомобил: Golf 3 variant
- Двигател: 1Z
- Местоположение: Русе
Re: Vw passat b4-изчезнаха скоростите
George Georgiev написа:Явно ще се сменя жило, но се чудя дали да не сменя целия с механизъм с двете н направо да не се налага това упражнение пак
Скъпички са тия жила.
-
Zdravko Zankov
- VW експерт

- Мнения: 13548
- Регистриран на: Съб 07 мар 2009 13:41
- Автомобил: Skoda Octavia + Peugeot 308 T9 SW
- Двигател: AQY 2001 + Pure Tech 2017
- Местоположение: Враца
Re: Vw passat b4-изчезнаха скоростите
Колко да са скъпи?
Пример, Ситроен джъмпер,485лв.
Пример, Ситроен джъмпер,485лв.
- goppa
- VW експерт

- Мнения: 8005
- Регистриран на: Вто 04 сеп 2012 19:25
- Автомобил: Seat Alhambra
- Двигател: CFFB
- Местоположение: Горна Оряховица
Re: Vw passat b4-изчезнаха скоростите
Е чак пък и нови да търси колегата.
https://www.megaparts.bg/products/avtoc ... ubmitted=1
https://www.megaparts.bg/products/avtoc ... ubmitted=1
-
Zdravko Zankov
- VW експерт

- Мнения: 13548
- Регистриран на: Съб 07 мар 2009 13:41
- Автомобил: Skoda Octavia + Peugeot 308 T9 SW
- Двигател: AQY 2001 + Pure Tech 2017
- Местоположение: Враца
Re: Vw passat b4-изчезнаха скоростите
Тия били имали кофти търсачка.
Ако няколко човека търсят едно нещо, цената скача.
Ако няколко човека търсят едно нещо, цената скача.
- К.Одаджийски
- VW експерт

- Мнения: 12170
- Регистриран на: Пон 11 сеп 2006 20:11
- Автомобил: Saab 9-3 SS ARC
- Двигател: B207L
- Местоположение: София / Берковица
Re: Vw passat b4-изчезнаха скоростите
Сваляш жилата и ги носиш в Княжево, ако си от София де, имаше фирма за рециклиране на жила. Ако имат готови такива на склад, направо ти ги дават, цените не са кой знае колко високи
-
passat ;)
- Мнения: 61
- Регистриран на: Чет 29 дек 2016 20:15
- Автомобил: Passat b3 1988
- Двигател: RP
- Местоположение: Шумен
Re: Vw passat b4-изчезнаха скоростите
Отиди в автоморгата и си намери хубави жила или си купи чисто нови но са скъпички
Кой е на линия
Потребители, разглеждащи този форум: diwaka, koko__2002, zdravkozl и 97 госта